智东西(公众号:zhidxcom)
编 | 四月
「智东西」早报
第588期 2017.3.13 周一
1、 iPhone8或临阵弃用曲面屏
有关苹果十年版手机,之前媒体比较一致的报道是将会采用5.8英寸的曲面屏,这也是苹果历史上第一次使用曲面屏。然而最近多家媒体和分析师披露的信息显示,苹果将作出重大调整,改回传统的平面屏幕。
根据Trendforce、MacRumors等多家媒体的报道,最近,科技市场研究公司IHS的分析师Wayne Lam对媒体表示,苹果十年版手机将会采用平面屏幕,而不是外界预测的曲面屏。
这位分析师表示,新手机采用的平面屏,也就是目前行业内所称的2.5D屏幕。他表示,和最近LG公司推出的G6一样,今年全球智能手机行业将会提高手机屏占比,因此显示屏的高宽比例将会做出调整,以便最大限度利用前面板的空间。他表示,苹果也将和三星电子将在月底发布的Galaxy S8手机一样,调整高宽比。
2、 民航局将研究无人机实名制
民航局局长冯正霖近日在接受采访时表示,民用无人机进入一个高速发展阶段,使用不当带来的危害开始显现,比如干扰飞机飞行等。民航局会研究推行无人机实名制管理方式。
据了解,从2015年开始,无人机爱好者开始增多,由于缺乏适当的引导和管理,无人机频繁闯入各地机场净空保护区,多次造成航班延误,已经对民航飞行安全构成了严重威胁。对此,冯正霖表示,无人机发展过程中,确实方便了航空爱好者,也有力地推动了我们在工业、农业、商业各个方面的应用。但无人机带来的危害也在显现,比如说干扰飞行,造成事故征候。
“对民航局来讲,我们的主要职责就是对无人机航空器进行登记,包括对操作员进行管理,我们会研究推行实名制。”冯正霖介绍,对于一般的、娱乐型的、运动型的轻型航空器,还可以采取一些其他更便利的方式。比方说,我们会在航空控制区建立电子围栏,无人机在出厂的时候就应该把机场的数据录入,电子围栏建立起来以后,凡是飞行禁区,无人机是进不去的。
3、 北京政府鼓励汽车分时租赁
记者近日从北京市交通委获悉,北京将推进分时租赁汽车网点布局,年底前分时租赁汽车预计达到2000辆。手机下单、随订随开、分时付费的分时租赁汽车也被称为“共享汽车”。北京市交通委相关负责人指出,今年北京将深入推进传统运输行业与新业态的融合发展。
探索推动网上审批、信用信誉监管、电子运单与定位数据结合监管等工作方法,建设实施“互联网+放管服”体系,推进出租、租赁、货运、旅游等行业与新业态融合发展,包括推进分时租赁网点布局,年底前分时租赁汽车预计将达到2000辆。
记者了解到,目前北京市场已经有首汽集团旗下“Gofun出行”、乐视汽车平台“零派乐享”“TOGO”“宝驾出行”等多个分时租赁品牌。其中“Gofun出行”已经在北京储备1100辆车,包括奇瑞、江淮、北汽等品牌,租赁点100多个,2017年计划扩展到200多个。
4、 加州不再要求无人车配司机
在全球研发自动驾驶技术的浪潮中,美国加州的硅谷是一个重要的力量,然而过去,加州政府一些落后的规定让研发企业十分不满。比如加州要求每一辆上路试验的自动驾驶汽车,必须配置一名司机。据外媒最新消息,加州将对自动驾驶汽车的监管制度全面放松,这将是硅谷科技公司的好消息。
据法新社报道,加州政府将对自动驾驶汽车放宽一些规定,上路的无人车不再要求必须设置一名“人类司机”。根据来自加州机动车管理局的消息,上述的新规将让社会公众充分讨论,最终的监管规定将会在今年年内出台。机动车管理局的局长Jean Shiomoto表示,新规定将会支持更多类型的自动驾驶汽车上路试验,这也是加州支持自动驾驶汽车最终上路行驶迈出的新步伐。
显然,在自动驾驶汽车的上路测试方面,地方政府必须考量各方面的利益,虽然科技公司希望有宽松的测试环境,但是消费者、行人、以及其他交通参与方,也担心自动驾驶汽车带来的安全风险。
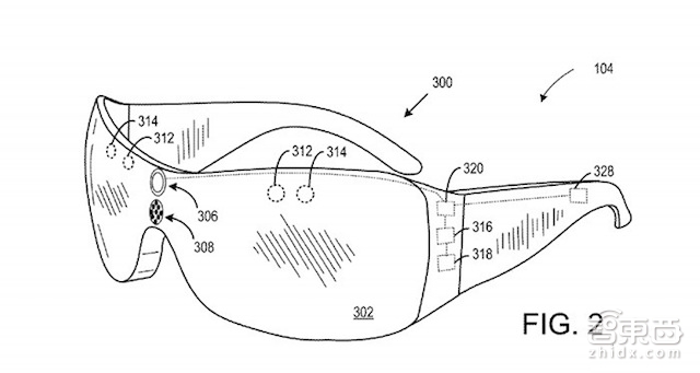
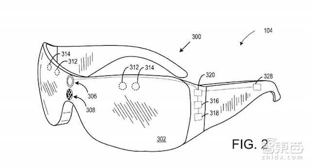
5、 微软AR专利可见视场外信息
增强现实显示设备可以在现实环境中向用户提供相关对象的虚拟信息,如计算机渲染的文本说明或者图像等。但是由于设备视场角的限制,用户不能获取视野之外(如用户背面)相关对象的信息,导致用户有可能错过与之交互的机会。
日前,美国专利局通过的一份微软专利(专利号为20170069143)则针对这个问题提供了解决方案。专利披露通过一种增强现实设备可以在现实环境中为用户提供视场外相关对象的信息指示,而这些指示可以是任何类型的,包括但不限于音频指示或者视觉指示。
以下是增强现实设备(104)的示例图,该设备包含一块或多块透镜、扬声器,一个或多个麦克风(获取用户的语音指令)、一个或多个面向外部的图像传感器(获取用户正在观看或者用户背面的物理空间图像,可包括一个或多个深度传感器/二维图像传感器)、一个或多个运动传感器。据VR科技网了解,增强现实设备(104)还具备眼球追踪、GPS定位、头部追踪等功能。
6、 远东智慧能源投资底特律电动
据外媒报道,底特律电动日前获得了远东智慧能源的 18 亿美元投资,此前,两家公司还曾在中国成立过一家合资公司「帝特律电动汽车」。未来,底特律电动将花费 3.7 亿美元建设他们的英国工厂,用来生产旗下的 SP:01 电动车。底特律电动还宣布,最快明年,他们就将推出一款纯电动 SUV,等到 2020 年时,他们还将推出一款纯电动轿车。
注意要理清「底特律电动」和「帝特律电动」的关系。
7、特斯拉夏威夷售太阳能电力
若要罗列世界上最适合安装太阳能电池板的地方,太平洋上的许多岛屿绝对名列前茅。由于没有天然气输送管道也没有运送煤炭的铁路,像夏威夷考艾岛(Kauai)这样的岛屿过去只能靠航运柴油燃料来进行发电。近年来,越来越多的岛上居民和企业开始安装太阳能面板,不过这只能减少化石燃料在白天的使用量,到了晚上,还是得回归传统的柴油发电机。
现在,特斯拉想要改变这一切。通过在该岛屿上建设大型太阳能发电厂及储能系统,这家对可再生能源业务颇具野心的公司正试图让考艾岛实现24小时使用太阳能电力。
这是特斯拉去年收购太阳能公司SolarCity后展开的首笔太阳能加储能项目。考艾岛是夏威夷群岛的第四大岛,面积达1000多平方公里,人口超过5万。特斯拉在这座岛上建设了一座输出功率可达13兆瓦(1兆瓦=1000千瓦)的太阳能发电厂,以及一个包含了272个大容量储能电池组Powerpack、储能容量达52兆瓦时(1兆瓦时=1000千瓦时)的储能系统。项目建成后,除了白天使用太阳能外,Powerpack会在阳光充沛时储存太阳能产生的电力,到了晚上为岛上3万多名居民供电。
8、 吉利透露多款新能源车计划
日前,吉利透露了他们的新能源产品计划。未来,吉利将在纯电动车型、混动车型以及插电混动车型的基础上推出多款产品。其中纯电动车型除了目前在售的帝豪 EV 系列之外,还将推出一款 A 级 SUV 和一款 A+级轿车。等到 2018 年时,吉利的纯电动车型续航里程将达到 400 公里,新能源车型将达到 5 款以上。
9、 钢琴机器人可与艺术家媲美
Adziu Valentino Liberace本人在演奏,但其实演奏者是一个机器人。 这个钢琴超级机器人名叫Arpeggio,其设计意图就是可以弹奏任何钢琴,并能良好配合琴键和踏板的操作。 目前,这个机器人可以演奏1000多首曲子,准确控制256种踏板操作,能够极准确模仿人类表演。
Arpeggio的创意来自Nich Morris,他是一所位于加利福尼亚的Majestic Piano Works公司的总裁。Morris在一段视频中说:“自动钢琴在过去100多年里一直在为我们的生活增添趣味,但随着技术不断改进,我认为我们还需要一位机器钢琴家。”
他说,“我想创造一个演奏水平与钢琴名家相当的机器人。”
10、谷歌云服务拿下前微软客户
众所周知,谷歌公司的云储存业务与竞争对手亚马逊、微软间有着不小的差距。而据外媒报道,为了提升自家业务的形象与地位,谷歌母公司Alphabet对外披露了一批该公司云业务的新客户!报道称,在周三的公司活动中,该公司云服务主管戴安·格林披露了近期斩获的一批大牌客户,其中就有高露洁、汇丰控股和eBay。
此外,谷歌还成功的挖到了竞争对手微软的墙脚:据美国第一大运营商Verizon宣布,该公司已经将旗下15万名员工转移至谷歌的生产力应用G Suite上。此前,Verizon使用的是微软Office应用套件。
“云计算是一项变革性技术,”格林在活动上说道,“它让我们的客户逐渐获得竞争优势。”目前,微软尚未就Verizon与谷歌的合同置评。
11、 联网气球项目Loon再度换帅
Loon是Google母公司Alphabet 的X实验室的计划之一,主要是想通过环绕地球的高空热气球来向全球提供通讯服务。在这次职位变动之前,公司刚刚缩小了这一计划的规模。去年8月,在前任领导人Mike Cassidy辞职后,X实验室聘请了Moore,他于9月中旬正式任职接管。
Tom Moore是一个在卫星领域有着丰富的经验老兵,同时也是谷歌联网气球Loon项目的领导者。不过,仅仅在任六个月后,他就不得不让位于Alastair Westgarth——无线天线公司Quintel的领导人。
12、奥克斯与优采平台达成合作
3月10日,在中国家电及消费电子博览会(AWE)上,奥克斯正式启动奥克斯&优采平台战略合作签约仪式,继续与房地产行业达成深度合作。优采平台执行总经理唐茜女士指出:“奥克斯与优采在时机、品牌、价值三个方面的契合,使得双方的战略合作将产生更大的化学反应。”
随着全国各地全装修政策和实施规范的逐步落地,毛坯房时代即将终结。新阶段,对于房地产行业和家电部品行业都提出了新的要求。未来两到三年内空调大群采将完成从规模到范围的大爆发。这样的背景下,在过去半年时间,奥克斯已与万科、保利、越秀、升龙、海伦堡等多家百强地产达成了战略合作,成为其指定供应商。2016年,奥克斯空调规模已跃居行业第三。
同时在其他战略上,奥克斯还力推时尚化、年轻化。在产品上,先后推出了雪龙系列、睿系列、极客系列、AYA、AHA等明星系列空调,受到市场及消费者欢迎。
#A股必看#
1、 顺丰上市首份年报净利42亿
3月12日下午消息,刚刚完成更名的顺丰控股今日发布了重组上市后的首份年报。年报显示,2016年度,顺丰控股实现归属上市公司净利润41.8亿元,持续经营业务同比增加112.51%。
根据财报数据,2016年,顺丰控股业务量,营业收入和利润都取得大幅增长,实现快件业务量25.80亿票,同比增长31.00%,营业收入574.83亿元,同比增加19.50%。而扣除非经常性损益后归属于上市公司股东的净利润为26.43亿元,持续经营业务同比增长62.85%。
分析师认为,公司业绩实现高增长的主要原因是行业整体高增速带来业务量的增长;同时公司成本控制得当,使利润率有明显上升。
2、 深天马A百亿收购落后资产
停牌6个多月的深天马A(000050)终于在3月11日公布了重组预案,公司拟作价约107亿元收购实际控制人旗下资产厦门天马100%股权和上海工投等持有的天马有机发光60%股权。值得注意的是,此次收购的资产自身造血能力一般,虽能彻底解决同业竞争,但是对公司业绩贡献并不大。
3月11日,停牌超过半年的深天马A发布了公司重大资产重组预案,从重组预案的内容来看,此次收购是一次庞大的并购,主要目的就是通过收购实际控制人旗下的资产从而彻底解决实际控制人与公司的同业竞争问题。
据深天马A的重组预案显示,深天马A拟向金财产业、中航国际、中航国际深圳、中航国际厦门非公开发行股份购买厦门天马100%股权,向上海工投、张江集团非公开发行股份购买天马有机发光60%股权。
每日一早报
热点·新品·招聘·资源·活动 最有效的行业对接
需求对接:微信添加“hawkren001”









