智东西(公众号:zhidxcom)
编 | 寓扬
「智东西」晚报第675期
2017.6.24 周六
#今日要闻#
1、LG推世界首款柔性透明OLED屏幕
近日,韩国巨头LG再创纪录,它们推出了世界上首款柔性透明OLED屏幕,尺寸高达77英寸。如果将这块屏幕竖立起来,其高度可达170.5厘米。这块屏幕分辨率达3840×2160(4K),透明度最高可达40%,最高曲率则为80度。
LG并未公布这块屏幕的售价,不过韩国巨头的77英寸普通OLED电视售价就高达1.5万美元(约合10.2万元),要知道它不透明,也不是柔性设计。
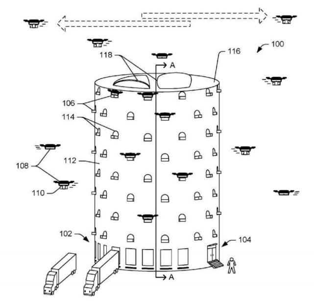
2、亚马逊拟构建巨大无人机塔 已申请专利
据外媒报道,电商巨头亚马逊向美国专利和商标局提交了一项专利申请,准备打造一个“多层次订单履行中心”。它看起来就像一个巨大的机器人支持的高塔,可以让无人机方便地进出,进而在城市地区运送包裹。
亚马逊在这项专利的申请书中称,“现在,在城市地区(如商业区和人口稠密的区域)建造订单履行中心的需求越来越大。”
美国专利和商标局周四公布了亚马逊的“多层次订单履行中心”专利申请书以及无人机相关专利的申请书。与无人机相关的专利申请书涵盖了无人机性能和噪音控制等内容。亚马逊尚未对此发表评论。
3、谷歌发“半全景”VR相机 但真的很便宜

智东西6月23日消息,今天,谷歌发布了一款新的VR视频格式——VR180,支持180度的“半全景”VR视频。谷歌同时宣布Daydream团队将会与小蚁、联想、LG、以及其他伙伴合作打造这种VR180“半全景”相机,价钱与一台普通的傻瓜相机差不多,第一代产品最早今年冬天就会和大家见面。
而除了相机价格便宜之外,“半全景”相机还有另外几个优点:1、不需要像全景视频那样消耗大量时间去缝合;2、压缩视频文件大小,这一点在直播场景中非常适用;3、对于导演以及其他全景视频拍摄者来说方便多了,他们不再需要架好相机之后躲得远远的,可以按照自己熟悉的方式进行拍摄。
#新交通#
1、神州专车获广州网约车牌照 全国已获26张
6月23日消息,神州专车宣布获得由广州市交委颁发的《网络预约出租汽车经营许可证》,至此,神州专车成为全国首个拿齐北上广深一线城市网约车牌照的平台。
自2015年1月正式上线运营以来,神州专车在全国60余城市开通运营,已在其中26个城市获得牌照。神州专车表示,据交通部研究机构披露,北京、上海、广州、深圳、武汉、成都、杭州等20个一二线城市占据国内网约车市场70%以上份额,目前,神州专车上述城市全部拿到牌照。
2、无人驾驶方程式赛车完成高速专业赛道测试
近日,E级方程式赛事合作伙伴Roborace公司的无人驾驶方程式赛车,在德国柏林完成了一次在专业赛道上的完整高速测试。无人驾驶方程式赛车在没有驾驶员的情况下,完成了整段200公里时速的高速行驶。
Roborace在2015年首次对外公布了自己的无人驾驶方程式赛车计划,并且在今年的E级方程式比赛中向公众公开展示了最新的研发成果。虽然目前这种无人驾驶赛车还没有做好参加正式比赛的准备,但是现在距离这个最终目标已经越来越近。
3、无人驾驶抢人 谷歌挖特斯拉大牛负责硬件
据外媒报道,随着谷歌母公司Alphabet创立的Waymo汽车部门越来越接近于将其无人驾驶汽车技术进行商业化推广,Waymo聘用了特斯拉前硬件工程主管萨迪什-杰雅昌德兰(Satish Jeyachandran)领导其无人驾驶硬件业务。
现年38岁的杰雅昌德兰在特斯拉工作了将近7年时间,在今年初才离开该公司。他将负责领导Waymo部门的硬件团队,监督摄像头、雷达、激光雷达和电脑视觉的研发和整合,并与该部门的软件团队密切合作。
4、1100名Uber员工联合请愿 要求前CEO回归
6月23日消息,据外媒报道,Uber首席执行官特拉维斯·卡兰尼克(Travis Kalanick)已经辞职,但许多Uber员工却依然在力挺他。据报道,超过1100名Uber员工已经在一份请愿书上签字,要求公司董事会恢复卡兰尼克的职务。Uber在全球拥有12000多名员工。
Uber董事会收到的请愿书上写道:“特拉维斯应该回到Uber,重新担任起管理者角色。这种程度的反应是出乎意料的,不应该被忽视。对我最亲密的同事来说,这只是一个简单的笔记,但现在它已经变成跨越数百个办公室和团队的请愿书,而且还没有被大多数员工所看到。”
此外,科技媒体Re/code公布了所谓的Uber内部邮件,并鼓励员工在请愿书上签名。
#AR/VR#
1、苹果新专利 可手势操控3D深度相机系统
在苹果WWDC2017上,苹果发布AR软件,同时正式与HTC Vive合作,这些都足以证明苹果正式进入VR/AR领域,此前,苹果公司已经获得了多项关于 3D 视觉的技术专利,不过这些并未被证实。
昨日, Patently Apple 放出消息,美国专利商标局又公布了一项苹果的专利申请,专利描述为一项 “ 可手势操控的互动式游戏 3D 深度相机系统”,消息显示,此项技术会用于AR耳机中。
从技术上,苹果的这项专利涉及到光束检测、光学3D映射、3D激光照明技术。苹果公司认为,他们的 3D 深度摄像技术可以用于未来的游戏系统内。
#通信圈#
1、 利用光学原理 加州理工推无镜头相机模组
据外媒报道,为了满足不同距离的对焦需求,手机的相机模组中需要多个镜片,其厚度难以缩小,因此摄像头“激凸”成了智能手机的常态。最近,加州理工大学的研究人员推出了名为“光学相控阵”的芯片,它可以利用数学运算替代传统的镜头。
据悉,仅需加入一点延时(如四分之一秒),让芯片的不同部位受到光的照射,就能在没有镜片运动的情况下改变焦点。
2、辟谣 联通否认腾讯阿里百亿美元融资
近日有媒体报道称,“阿里巴巴和腾讯将参与对中国联通百亿美元左右的融资,此前决定参与融资的百度决定退出”,中国联通官方给予否认。
报道称,阿里和腾讯将领投700亿元(合102.5亿美元)的资金融资,其中500亿元计划通过增发方式筹集,其余部分将通过出售一部分A股股票来填补,此前意欲参与融资的百度决定退出。阿里巴巴、腾讯和其他潜在投资者尚未就条款达成最终协议。
中国联通官方在回应中称,该消息不实报道。此外,据内部人士了解,目前还没有确定有哪些外部投资者。
#新进展#
1、苹果新总部将成景点 正在招募工作人员
据外媒报道,苹果网站本周发布了两则招聘启事,暗示新园区Apple Park可能很快就要对外开放了。
苹果正在为新园区的“游客中心咖啡馆”招聘主管和经理,这个游客中心咖啡馆位于主园区之外的北达道大街10700号。与库伯蒂诺市其他地方的咖啡馆不同,这个游客中心餐厅负责接待苹果员工以外的顾客。
游客中心建成之后,它将包括一家新的苹果零售店,占地超过1万平方英尺。
2、万达投资欲增持万达电影股票 最高10亿元
6月23日,万达电影公告称,控股股东万达投资计划未来3个月内择机增持公司股份,累计增持金额不超过10亿元,承诺增持完成12个月内不减持增持股份。
前日,万达电影股价接近跌停,创去年12月以来最大日内跌幅。万达回应称,万达集团经营一切良好,希望大家不信谣、不传谣。
对于这次暴跌,一位私募基金经理分析称,有可能是股东里的结构化产品遭遇赎回,需要立即清仓回收流动性;还有一种可能是里面的资金提前获得了某种信息,出于风控需要,被迫清仓。
#A股必看#
1、宜通世纪中标4.21亿元广州移动招标项目
宜通世纪(300310)6月23日晚公告,公司中标中国移动广东公司“2017至2018年广东移动室内覆盖系统施工公开招标项目”中多个地市的多个标段,合计中标额4.21亿元。宜通世纪2016年度营收18.21亿元。
2、深天马A第6代LTPSAMOLED预计年内量产
6月23日,深天马A在投资者关系互动平台上表示,感谢您对天马公司的关注。武汉天马第6代LTPSAMOLED产线已于4月20日在中国率先点亮产品,并同时点亮刚性和柔性显示屏,目前正进行产能和良率提升,预计在17年年内量产。
3、英唐智控子公司拟收购怡海能达51%股权
英唐智控(300131)6月23日午间公告,公司与深圳市怡亚通(002183)供应链股份有限公司(下称“怡亚通”)在深圳市签署了《关于深圳市怡海能达(002583)有限公司之股权转让协议》,公司全资子公司深圳市华商龙商务互联科技有限公司(下称“深圳华商龙”)拟以3,825万元的价格收购怡亚通所持有的深圳市怡海能达有限公司(下称“怡海能达”)51%的股权。
公司表示,本次对外投资的目的为:本次交易是公司实施电子元器件分销领域横向发展战略的步骤之一,本次交易有利于丰富公司电子元器件分销业务产品线,加强该业务的宽度,扩大电子元器件分销业务规模及市场占有率,提升公司盈利能力。
4、仁宝电脑暂停向乐视致新入股7亿元
据报道,仁宝电脑总裁陈瑞聪日前表示,仁宝投资入股乐视子公司的计划已经被临时暂停。他表示,入股计划是否继续推进,取决于乐视偿还仁宝债务的情况。乐视网(300104)3月份公告称,仁宝将向乐视致新入股7亿元人民币,占增资后总股本的2.1507%,位列第十大股东。
每日一早报
热点·新品·招聘·资源·活动 最有效的行业对接
需求对接:微信添加“hawkren001”

