智东西(公众号:zhidxcom)
编 | 翰阳
智东西早报
第249期 2016.1.15 周五
新进展
1. 小米回应空气净化器抽检不合格:测试流程存异议。
昨日晚间,小米发言人公布了“智米科技关于上海质监局抽查结果的说明”,对上午曝光的小米空气空气净化器“抽检不合格”进行了详细回应。小米表示,上海环境保护产品质量监督检验总站对小米空气净化器1代进行的包括安全检测、电气性能检测和性能检测等在内的多项检测,除固态污染物洁净空气量及噪音两项外全部合格。
小米称,小米空气净化器一直在核心功能单元采用同样的元器件和成产流程,不可能因产品批次不同产生如此大的CADR值差异。经向监测单位征询,产生此差异的原因是:此次抽检的检测环节中,洁净空气量测试档并未持续使用高速模式,测试流程存在异议。
此外,噪音项上,小米也提出了说明,GB/T是指推荐性国家标准,又称自愿标准,任何单位都有权决定是否采用,违反这类标准,不承担经济或法律方面的责任。
为此,小米净化器制造商、小米生态链企业智米公司已经向上海质监局提出复检申请,申请再次测试,并由申请人单位派出技术人员现场确认。
2. 微软Build2016大会下周开启注册,门票2195美元。
微软今年的Build大会将在3月30日到4月1日之间举办,不过下周开始也就是1月19日,微软就会让参会者注册。
根据微软一直以来的习惯,参会地点依然选在了旧金山Moscone会议中心,不过今年门票的价格实在是价值不菲,售价高达2195美元,比去年还贵了一些。当然这样的门票一般来说还能够在发布会上得到一些微软的移动设备,比如Surface平板或者Lumia手机等等。
3. 戴姆勒总裁表示可能与日产合作研发自动驾驶技术。
德国汽车巨头戴姆勒公司的总裁迪特·蔡澈日前在底特律接受共同社等媒体采访时就与日产·雷诺集团的合作表示,自动驾驶技术研发“有可能成为扩大合作的领域”,并按时可能和日产合作开发自动驾驶技术。戴姆勒计划今年发售的高端品牌“梅赛德斯·奔驰”主力E级新车型将具备自动驾驶功能。
日产也计划将自动驾驶技术逐步商品化。如果合作得以实现,或将有助于技术研发。
资本界
1. 英特尔投资服务机器人厂商Savioke。
外媒报道称,英特尔投资服务机器人厂商Savioke,这是英特尔的机器人战略的一部分,也表明机器人领域的投资日益升温。
Savioke表示,Savioke完成了一轮1500万美元融资,这轮融资由英特尔投资公司(Intel Capital) 领投,北极光创投、新加坡经济发展局投资有限公司(EDBI)跟投。
据悉,Savioke是服务机器人Relay制造商,这款机器人能够在宾馆内传送牙膏、毛巾等物品。
2. 企业VR软件公司Envelop VR融资550万美元。
Envelop VR是一家为企业用户开发虚拟现实软件的公司,公司刚获得一轮550万美元的A轮融资。GV(原Google Ventures)参与了本轮融资。公司此前已经获得过一轮200万美元的融资。
Envelop VR位于西雅图,公司创立于2014年。它正在开发的“Envelop 虚拟环境”(EVE)这款软件可以帮助企业用户和普通用户在虚拟现实的环境中创作、工作和娱乐。这款软件会在目前的主流虚拟现实设备Oculus Rift和HTC Vive等上市后再大规模推向市场。
新潮货
1. 红米发布Note 3全网通版:改用高通骁龙芯片。
昨日,小米发布了红米Note 3全网通版本。
这次小米为红米Note 3全网通的配置做了全面的升级,首先是处理器,Helio X10被抛弃,转而采用高通骁龙650,这样的升级已经不仅仅是换个处理器那么简单了。此前高通专门为骁龙650处理器更名一事就是由于骁龙650处理器表现良好,欲将其与高通61X系列拉开差距,由此可见这枚处理器的性能有多强悍了。
而红米Note 3在其余性能上也全面升级,首先是网络制式,从双4G升级为全网通2.0,同时支持4G+以及VoLTE功能;后置摄像头从1300万像素升级为1600万像素;阳光屏也再次升级。
2. ivvi发布最薄全网通小i Plus,定价1999元。
ivvi在北京发布了三款迎春新品,分别为小i Plus、小骨Pro以及小霸星K2L。其中小i Plus 以5.5mm机身,号称最薄全网通产品,售价1999元。
ivvi总裁张光强介绍,小i问世之初就是主打时尚、超薄的特质,这次发布的小i Plus机身只有5.5mm,可以支持六模全网通制式;同时,小i Plus内置双微信功能,实现一部手机可以同时登陆两个微信账号,而且可以将屏幕布局一分为二,同时打开两个微信账号聊天窗口。
3. 华为或4月发布MateBook笔记本电脑。
去年9月21日,华为曾申请了名为“MateBook”的商标,根据其注册的信息表示,“MateBook”将被用于便携式计算机用套、计算机键盘、计算机程序(可下载软件)、平板电脑、计算机硬件、数据处理设备、智能手机、调制解调器等等产品。从商标名称及用途来看,“MateBook”无疑就是为其PC产品准备的。
而就在这两天,又有消息称华为正在筹备进军个人电脑业务,并在大力招揽研发电脑的相关人才。而更加精确的消息表示,华为的PC产品将会于今年4月量产。
通信圈
1. 国产手机去年出货量5.4亿部,接近三星苹果总和。
据台湾媒体报道,调研机构TrendForce的最新数据显示,2015年全球智能手机出货量为12.93亿部,同比增长10.3%,国产手机占比超40%。
TrendForce的数据称,中国大陆地区的手机品牌合计出货量高达5.39亿部,增长速度超过全球平均值,囊括全球前十大手机品牌中的7个位置。
根据TrendForce的数据,2015全球前十大手机品牌分别是三星、苹果,华为、小米,联想、LG、TCL、OPPO、BBK/ViVO、中兴。
2. 华为爱立信续签专利交叉许可协议。
华为宣布,与爱立信续签全球专利交叉许可协议。该协议覆盖了两家公司包括GSM、UMTS及LTE蜂窝标准在内的无线通信标准相关基本专利。
根据协议,双方都许可对方在全球范围内使用自身持有的标准专利技术。作为续签协议的一部分,华为自2016年起将基于实际销售向爱立信支付许可费。协议的进一步细节保密。
3. 台积电第四季度净利润22亿美元超预期。
据台湾媒体报道,台积电当日公布的季度业绩超分析师预期。
2015年第四季度台积电净利润环比下降3%至728亿新台币(约合22亿美元),分析师原先的平均预期为685亿新台币。季度营收环比下降4.2%至2035亿新台币(约合61亿美元),符合该公司自己的预期。2015年台积电总营收为8435亿新台币(约合252亿美元),同比增长10.6%。
4. 三星将在iPhone OLED显示屏设备上投资74亿美元。
据韩国媒体ET News报道,三星显示器公司(Samsung Display)已经敲定计划,在苹果所用曲面OLED显示屏的生产设备上投资74亿美元。
韩国的该媒体报道称,苹果的产品将从LTPS TFT LCD转向OLED,届时苹果将把这个曲面OLED面板用于未来的iPhone。三星显示器公司2016年产能将扩展到3万至4.5万基板,到2017年将达到4.5万基板,而这笔投资将在这两年内分阶段投资。这些生产和测试设备除了HB Technology,将主要来自AP Systems。
新技术
1. 谷歌公布相机专利:类似翻盖手机。
前不久苹果注册了一项有关智能手机的相机专利,而作为苹果的最大竞争对手美国谷歌公司似乎也对相机领域产生了浓厚的兴趣,并于近日公布了一款相机的专利技术,只不过谷歌似乎是真的想做一款纯粹的相机。
在这款名为“ornamental design for a camera”的专利中,谷歌并没有使用太多文字对其进行描述,而从专利图片上看,谷歌的这款专利在外观上有些类似于诺基亚过去的翻盖手机,透漏出一种怀旧的味道。除此之外,对于这款相机的其他功能方面的信息,目前还不得而知。
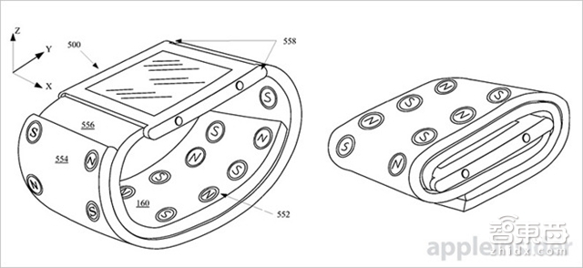
2. 苹果新专利:磁性表带可变身成为智能手表保护壳。
周四公布的一项专利申请显示,苹果正在研究一种具有磁性闭合功能的智能手表腕带,在智能手表不用的时候,可兼作保护壳和支架。苹果向美国专利和商标局申请的这项专利名是“磁性腕带”,类似磁性搭扣式肩带,如皮革loop和米兰loop。但是,苹果这项专利采用了可变形设计,采用2条腕带,1条用于手腕佩戴状态,另外一条用于不佩戴的存储状态。
它们采用延展性的材料制成,其中埋入一系列极性交替的磁铁构成不同的折叠模式。例如,一个腕带可能包括多个磁体,重复北,北,南,北,北的模式,而第二条腕带埋入的磁铁布局就和第一条相反,当2条腕带靠近,它们就可以借助磁铁吸引构成一个垂直堆栈配置。
每日一早报
热点·新品·招聘·资源·活动 最有效的行业对接
需求对接:微信添加“autocratel”












