智东西(公众号:zhidxcom)
作者 | 杨畅
编辑 | 三北
智东西5月24日报道,昨日晚间,广东省深圳市市属企业综合运营管控数字化平台建设项目发布中标公告,腾讯云计算(北京)公司中标,中标金额为2290万元。
这是腾讯云在近两周里中标的第三个千万级深圳本地智慧化项目。
就在5月19日,腾讯云中标了5592万元的深圳市智慧城市公共健康信息平台项目;5月13日,腾讯云中标8187万元的深圳市智慧小梅沙平台开发服务项目。
这三个深圳智慧城市大单合计达1.61亿元,项目覆盖滨海旅游区智慧化平台、新冠疫情监测防控系统、企业运营管控数字化平台等多个领域。
在竞标过程中,腾讯云接连击败了阿里云、中移系统、联通数科等强劲对手。
一、2290万元综合管控平台项目:击败联通、万佳安
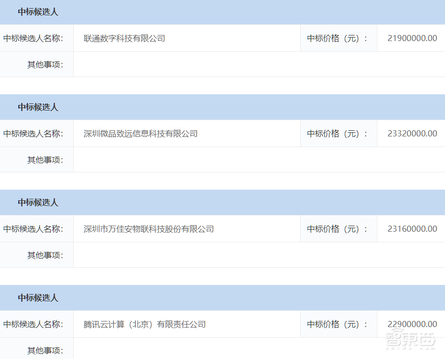
首先,让我们来看看昨日公布中标结果的深圳综合运营管控数字化平台项目,腾讯云、联通数字科技、深圳微品致远、万佳安这四家企业按时递交了投标文件,项目报价分别为2290万元、2190万元、2332万元、2316万元。

该项目主要包括三方面:1、相关软件的开发实施,具体为技术方案设计、需求调研、软件开发、技术培训、系统集成、系统调试、测试、试运行、研修和维保服务;2、配套云资源的采购、安装、调试、验收和维保服务;3、配套硬件的采购、运输、安装、调试和维保服务。
项目的开发期限为从项目启动到验收之日一共12个月,质保期为通过验收后的12个月。
综合运营管控数字化平台建设项目的采购单位是深圳市属国企深圳市福田福安有限公司。福田福安公司需要建设一套综合运营管控数字化平台,即在协同办公、财务管理、人力管理等职能业务的支撑下,强化园区运营、物业管理、企业服务等核心竞争能力,支持企业内部业务数据无缝集成、高效流转,实现数据可视化、空间可视化的空间管理能力,为公司资产保值增值提供强大的数字化管理工具。
二、5592万元城市健康平台:覆盖新冠监测系统等
腾讯云中标的深圳市智慧城市公共健康信息平台项目是在5月19日公布的中标结果。根据中标候选人公告,仅有腾讯云入围,中标金额为5592万元。
该项目的采购单位为深圳市智慧城市科技发展集团有限公司,采购公告于2022年4月29日发布,中标候选人公告在5月16日发布。

该项目主要内容包括三部分:
一是中标企业要负责升级和新建新冠监测、疾病动态、病原学、健康危害因素、症候群等监测系统;建立根据大数据分析和业务模型规则配置进行事件预警和预测,通过疫情调查处置和移动化现场配置完成预警消息接收、核实、处置等管理;建立综合风险评估、应急决策支持、疾控应急作业中心系统。
二是中标企业要建立一体化疾控业务数字化支撑平台。具体内容包括建设疾控防控核心业务基础服务平台,为疾控内部业务科所提供协同、档案管理、流行病学调查、监测和检测等可共享和复用的”融合平台”业务功能;建设数据融合与共享服务平台,实现数据共享交换,建立疾控监测业务数据支撑来源。中标企业还要完成数据治理、数据建模,实现跨域数据整合和知识沉淀;以及新建密集区域人群热力与迁徙态势分析服务系统,为疫情的预判和防控提供海量互联网位置数据支持。
三是中标企业要完成加强IT基础设施建设,提升计算资源和存储资源,补充建设满足保障应用系统开发与测试、实验室运行的计算资源等项目内容。
项目要求签订合同之内起一共1个自然年内完成项目全部工作并达到最终验收标准并交付。
三、8187万元智慧小梅沙平台:击败阿里云
腾讯云在5月中标的智慧小梅沙平台(含应用)开发服务项目在去年12月8日就发布了公开招标采购公告,2021年12月23日就发布了中标候选人公示,最终中标公告发布日期为5月13日,采购方为深圳市特发小梅沙投资发展有限公司。

根据中标候选人公告,中移系统、阿里云、腾讯云共同进入中标候选人名单,报价分别为8267.1万元、7888.6万元和8187.1万元。浪潮云因为成立时间不符合招标文件要求、未按招标文件要求提供业绩证明材料等原因未进入中标候选人名单。

小梅沙更新单元属于深圳市盐田区商改商住项目,地理位置位于盐田区梅沙街道小梅沙海滨旅游区,是深圳市旅游业态的首个城市更新项目。
智慧小梅沙平台(含应用)开发项目包括五个方面:
一是用户交互部分,即智慧小梅沙智慧应用与游客、运营者、管理者、物业人员、租户/住户、商户的交互界面,包括官网、移动端、公众号、小程序等。
二是场景应用部分,包括基于数字底座和通用能力建设智慧场景应用,本期项目建设智慧旅游、智慧交通场景应用,后续接入智慧物业、智慧商业、内部OA、售楼软件等应用。
三是通用能力部分,包括支撑智慧场景应用开发的能力平台,目前设计包括销售运营、支付财务、运营指挥、智能客服、信息发布、停车管理、用户管理、应用管理、地图服务、数据可视化、短信管理、舆情监测等。同时,通用能力部分还包括基于通用能力平台上提供统一的对外能力开放平台,包括能力开放门户、集成与开发、基础功能。
四是数字底座部分,也是智慧小梅沙解决方案的核心。数字底座集成整个小梅沙片区内所有的应用数据和底层设备数据,主要分为数据平台、IOT平台、视频分析。
数据平台主要对采集来的数据进行加工处理和存储,包括数据汇集汇聚、数据治理、数据安全等服务,提供数据接入、数据分析存储、和数据开发服务。
IOT平台提供底层的设备、设施接入能力,包括设备接入、设备采集、IOT边缘服务、设备管理、设备控制、告警管理等。
视频分析主要为整个小梅沙片区的视频分析中心,处理所有的视频类分析,包括行为识别、人车流量、目标识别等。
五是公有云服务,中标企业还需要提供3年的公有云服务。
该项目的建设周期为从采购合同签订之日起的45个月内,中标企业要完成安装、调试、上线、试运行等工作。
结语:腾讯云多元布局,连拿三大深圳大单
腾讯总部位于深圳,一个月连拿三个本地项目似乎是占据了地利优势,实际不止于此。从腾讯云过往中标的智慧城市大单的情况来看,腾讯云去年一年中标7个亿元级大单,今年一季度中标5个千万级大单项目,腾讯云积累了丰富智慧城市项目经验。
腾讯云五月中标的这三个项目分别属于企业智慧运营管控、智慧医疗健康、智慧景区三类差别较大的方向,腾讯云中标的项目多元。