智东西(公众号:zhidxcom)
编译 | 徐珊
编辑 | 云鹏
苹果CEO蒂姆·库克连续五年都在大赞AR技术前景可期!
五年时间,十五次公开场合,库克都在“表白”自己对AR技术的喜爱。不仅如此,库克还认为AR将是苹果的下一个“节点”,目前苹果已经投入了近千人的研发团队来开拓这个新领域。
外媒The Verge推测这些夸赞AR的言论可能代表着库克的一种态度——AR的应用前景比人们的市场预期要好,VR则反之。
如今,iPhone和iPad都可以使用相应的AR功能,业内也多次传闻苹果将很快发布AR/VR头显。
库克已经担任苹果CEO十年,带领着苹果成为全球市值最高的公司,但与苹果创始人乔布斯相比,库克缺少一些像iPhone、iPad、Mac那样具有标准性、能给行业带来震撼的产品。
The Verge表示,虽然苹果还没有推出AR头显或者AR眼镜,但AR可能将会成为库克任期内的“标志”。
近期彭博社还曾表示,库克在任期结束后,可能会负责AR领域。

The Verge整理了五年以来,库克对AR领域发表的言论。库克为什么觉得“AR的发展潜力大于VR”、AR又将会如何加强人与人之间的联系、苹果的AR布局是怎样的?我们可以尝试从这些言论中找到答案。
一、库克五年内十五次为AR“站台”,AR将改变沟通方式
库克究竟有多看好AR领域?在谷歌刚发布谷歌AR眼镜时,库克曾表示很难看出谷歌眼镜的“吸引力”,这种AR可穿戴设备不会受欢迎。
但自2016年以后,库克开始疯狂“打脸”,五年内曾经十五次谈到自己十分看好AR技术的发展,并且认为AR比VR更具市场潜力。
1、2016年7月:“AR真的很棒”
库克曾在季度财报电话会议讲:“我们一直在这方面(AR)投入很多,未来我们也将会继续投入。从长远的角度出发,我们高度重视AR,我们认为这对消费者来说是件很棒的事情。
并且,这也是一个很好的投资机会。我们首先要求我们的产品将可以和其他开发者的产品适配。就像神奇宝贝(Pokémon)那样,你可以看到许多人都拿着iPhone去寻找神奇宝贝。”
▲用iPhone寻找神奇宝贝
2、2016年8月:“AR将是核心技术”
库克在接受《华盛顿邮报》采访时谈道:“我认为AR非常有趣,是一种核心技术。所以,我们谈到(我们在)幕后做了很多事情。”
3、2016年9月:“AR比VR更具价值”
“VR和AR都很有意思,但我目前认为二者之间,AR将更具价值。AR可以让我们两个人都坐下来并且面对面彼此交谈,并且我们还能看到一些其他的东西。这些东西可能与我们正在谈论的事情有关,可能是一些不在场的人假装在场。”库克在参与《早安,美国》访谈时提及对AR的态度。
“那里(AR)有很多非常酷的东西。”
4、2016年10月:“AR将成为生活的一部分”
库克在犹他科技之旅的谈话中详细介绍了AR的重要性,以及为什么他会觉得AR比VR更具有发展潜力,同时他还强调AR在商业化上面临的重大技术挑战。
对于AR什么时候可以成为“现象级”,库克表示当每个人都拥有AR体验,每个人都认为AR是一件“可接触的事情”时,AR就成为了一种“现象级”技术。
“这里没有人或者说很少有人,能接受一直站在电脑前或坐在电脑前,也很少有人接受‘困’于某物。因为我们每个人在内心深处都是社会人。即使是内向的人也是社会人,我们喜欢人,我们想要互动。而在这两者(VR和AR)中,参与AR互动的人数会更多一些。”
▲库克参加犹他科技之旅
库克估测AR最终会像一日三餐一样成为每个人生活的一部分,就像iPhone一样。与AR相比,库克认为尽管VR也很重要,但它的应用领域不会那么大。
库克表示VR会对教育、游戏领域非常重要,但“我无法想象你和我坐在一起时,每个人都获得封闭的VR体验,但是我可以想象现在这里的每个人都在体验AR。”
而对AR的应用发展,库克觉得还需要一段时间,因为这里存在一些非常困难的技术挑战。但他相信最终AR会大规模落地,“我们好奇它什么时候会发生。”
5、2016年10月:“AR技术意义深远”
库克在接受美国媒体BuzzFeed采访时表示,尽管VR会产生一些有趣的应用,但AR还是会优于VR,因为人与人之间的接触是无可替代的。
“AR(发展)需要一些时间,但我确实认定它是意义深远的。如果我在这里有AR体验,我们可以有一个更高效的对话”,库克认为AR可以将信息更好的融合,而且并不会成为谈话的障碍。
6、2017年2月:AR将和智能手机一样具有开创性
在接受英国《独立报》访谈时,库克提及“我对AR感到兴奋,因为与封闭的VR不同,AR允许个人存在现实世界中,还能够改善人们目前现状。”
库克谈道,大部分人都不想将自己长时间脱离社会,长时间与世隔离将会影响人们的心理健康。“使用AR,你可以不必全神贯注于某事,而是让它成为自己与世界对话的一部分,这样会更有共鸣。”
“我确实看到(AR)可以在日常生活中真正帮助人们解决现实生活中的很多事情,这就是为什么我对此感到如此兴奋。”
▲苹果在2021年9月8日凌晨发出带AR效果的秋季发布会预告片
“我认为这(AR)将是一个像智能手机一样的大创意,会像智能手机一样适合所有人,”库克对AR持有乐观的看法,“因为(我们)可以提高很多人的生活水平,并且很有趣。我看待AR就像我看待iPhone中的芯片一样,它本身不是产品,而是核心技术。”
但库克也提到在技术要达到理想水准之前,还有一些困难需要克服。
7、2017年6月:AR赛道让人兴奋
库克在彭博社的采访中详细介绍了他对苹果AR的愿景,他认为AR成为主流体验的第一步是需要将AR功能放在操作系统里。苹果将AR功能放到iOS 11中,并向开发者们开放,释放数百万人的创造力。
“我们和宜家谈过,他们有他们家具系列的3D图像。”库克讲到AR的新进展,“您可以尝试在家中放置(宜家的)家具和其他物品。”
同时,库克认为AR是可以从企业延伸到消费者的东西。他谈到在企业里,AR将会逐步成为他们工作的基础,人们也可以看到一些非常酷的消费AR产品出现。
“我们现在可以做到我们想做的一切吗?不,这项技术还没有完成,但这本身就是某种程度的美。这里有一条跑道,一条令人难以置信的跑道。”
“当人们开始看到什么是可能时,这会让他们非常兴奋——就像我们一样,就像我们过去一样。”
8、2017年10月:“AR拥有广泛的用途”
库克曾回应了一位牛津大学的学生询问他认为哪种技术具有“变革性”的问题。
库克表示AR有广泛的用途:
“我对AR感到非常兴奋,因为我可以在任何地方看到它的用途。我可以看到它在教育、消费者、娱乐和体育方面的用途。我可以在我所了解的每一项业务中看到它。”
“我喜欢它不会造成孤立的事实,”库克谈道,“我喜欢我们‘放大’思想的产品,我认为AR可以帮助加强人与人之间的联系。”同时,他还提到尽管VR会有一些很酷的小众事物,但不如AR意义深远。
9、2017年10月:AR或能代替直播
在英国《Vogue》报道中可以看到库克曾说过,虽然苹果并不打算建立一个“庞大的服务数据库”,但它会支持AR领域中正在开展这项工作的公司。
“如果你想看时尚界的时装秀,那AR是一个很好的应用”,他认为AR可以帮助人们看清衣服的细节,而不像一些时装秀,只有现场的观众可以看见完整的衣服细节。
10、2017年11月:“苹果打造史上最大的AR平台”
随着苹果在iOS 11上推出其ARKit平台,库克在季度财报电话会议上表示,苹果已经创建了世界上最大的AR平台。
“今天,我们的App Store中已经有超过一千个具有AR功能的应用程序,开发人员在几乎所有针对消费者、学生和企业用户研发的应用程序类别中都创造了惊人的新体验。”
“简而言之,我们相信AR将永远改变我们使用技术的方式。我们已经看到(AR)将会改变您工作、娱乐、联系和学习方式。例如,有些AR应用程序可以让您与一切事物的虚拟模型进行交互。”
“当每个主题都以3D形式呈现时,教育马上变得更加强大。想象一下,您可以在购买之前将物品放在客厅中时看看,或者您还看到体育赛事的现场统计数据。”
▲苹果推出的ARKit平台
11、2017年10月:苹果对市场上的AR技术并不满意
在ARKit发布之后,库克在英国《独立报》的采访中承认他觉得头显或眼镜中搭载的AR技术还没有达到苹果所关注的水平。
与此同时,库克认为视野问题、显示器本身的质量问题,这些都还没有达到苹果要求的水准。
“我们希望成为第一,我们想成为最好的,并为人们提供很棒的体验。但是现在,您在市场上看到的任何东西都不会让我们中的任何人满意,我也不相信绝大多数人会(对此)满意。”
“大多数技术挑战都可以解决,但这只是时间长短的问题。”
12、2018年2月:客户对AR持看好态度
“ARKit将彻底改变我们在移动设备上的许多体验,我们通过ARKit为开发人员提供了市场上最先进的工具。”库克在苹果一季度财报电话会议上提到AR市场的客户反馈。
13、2018年10月:AR将不可或缺
库克在接受关于Apple Watch的采访时告诉美国媒体NowThisNews,AR即将变得不可或缺。
“我认为有一天我们会想知道没有它我们会如何生活,就像现在我们想知道没有手机我们会如何生活一样,”库克谈到AR时表示,“我们可以通过AR的力量进行更深入的对话。”
14、2020年1月:AR将“渗透我们的整个生活”
他在爱尔兰都柏林发表演讲时举了一个公司使用AR的例子,并描述了它的潜在用途。
“昨天,我拜访了一家名为War Ducks的开发公司——这家公司有15人,他们正在聘请AR专家并尝试在游戏中使用AR。你可以想象,对于游戏来说,这是不可思议的。对于我们在这里的讨论也是如此。你和我可能正在谈论一篇文章,我们可以使用AR将它拉出来,并且我们可以同时看同一件事。”
“我认为AR不会将人们隔离开来,而是可以用它来强化我们的讨论。”
15、2021年4月:AR是“苹果未来至关重要的一部分”
库克同意记者Kara Swisher采访的观点,即AR是“苹果未来至关重要的一部分。”他还觉得AR在健康、教育、零售和游戏领域具有较大的发展潜力。
“我已经看到AR在其中一些领域随着手机的使用而起飞,而且我预估未来的应用会更广。”
二、广纳人才,苹果的AR计划正在稳步推进
库克长期以来一直看好AR,但苹果推出的最新产品还是2017年的ARKit开发平台。
开发人员可以使用iOS 11以上的iPhone和iPad摄像头以及传感器在3D空间中叠加图像。业余AR爱好者也可以在ARKit开发平台上创造自己的AR软件。The Verge曾表示,ARKit可能让苹果在AR领域上赶上谷歌。
ARKit推出时正值神奇宝贝(Pokémon Go)的热潮,为粉丝群提供一个AR软件平台,但后续人们对ARKit逐渐失去兴趣,具体原因尚不清楚。
此后,除了ARKit,苹果也推出了一些其他产品。2019年5月,苹果推出了自由女神像AR软件,库克曾在推特上写道,“自由女神软件只是一个开始,AR正在改变我们与世界之间的联系方面。”同时,2019年7月,苹果在iOS系统上推出了AR艺术课程。
▲苹果推出的自由女神AR软件
在AR研发方面,苹果疯狂地招揽AR技术人才。
苹果曾发布了数十个AR和VR招聘信息,希望聚集更多的力量。并且,苹果“挖”来了Nat Brown,这位混合现实的专家以前曾在微软工作过,自己还创办了Xbox。
此外,苹果开启了“买买买”模式,在2015年苹果收购了德国AR软件公司Metaio。然后,苹果还在2017年收购了专注于AR和眼动追踪领域的德国公司SensoMotoric Instruments。
不仅如此,苹果已经拥有多项与头显有关的专利,这些都在表示苹果正在AR领域稳步前进。

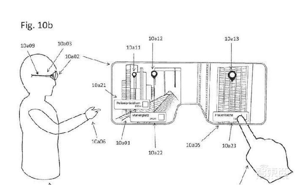
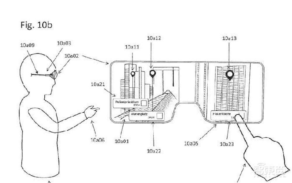
▲苹果获得有关在AR眼镜上加载地图的专利
三、千人参与AR研发,AR头显、AR眼镜正在路上
从2018年起,业界就有报道称苹果将推出VR/AR头显和AR眼镜。
彭博社曾报道,苹果1000名工程师参与其VR和AR计划。该计划在苹果内部代号为“T288”,将包括2021年或2022年发布的VR/AR头显,并将在2023年推出一副时尚的AR眼镜。
The Information的报道表明,苹果AR/VR头显可能需要依赖像iPhone一样的其他设备处理器。同时,苹果正在研发用于头显的定制芯片,因此苹果头显可能一年后才能现世。
至于AR眼镜,The Information认为苹果可能在2023发布,而苹果分析师郭明錤则认为更有可能在2025年发布。
苹果一直是一家对产品具有高标准的公司,此前曾因为AirPower无线充电板不符合其期望,而选择放弃该产品线。
由此可见,如果苹果的AR/VR头显不能使库克满意,短期内人们应该是看不到苹果的AR/VR头显了。
结语:苹果重宝押注AR领域
通过历年以来库克发表关于AR的言论可以很清晰的看出,他认为AR不但能加强与人之间的联系,而且还能拥有比VR更大的应用潜力。
然而,苹果在AR上的发展并不太顺,ARKit平台的后续发展并没有达到苹果的预期,这也意味着苹果AR领域的布局尚未完全成型。
距离苹果上次推出与AR相关的产品已经过去了近4年,此次苹果秋季发布会上的AR邀请函似乎暗示苹果将在AR方面有新的动作。
是ARKit的升级版?还是发布AR头显或者AR眼镜?又或者是在手机中增添了新的AR功能?我们将在后天凌晨“连线”加州,一起来揭晓谜底。
来源:The Verge