智东西(公众号:zhidxcom
编译 |  林卓玮
编辑 |  江心白

智东西1月22日消息,据外媒AppleInsider爆料,苹果正在研发可充电的iPhoneiPad保护壳。

从苹果近期获批的两项专利来看,这种新型保护壳可能会内置充电槽,给Airpods等配件充电,还有可能添加夹层,以便携带卡片和零钱。

早在2018年,Apple Pencil就已经可以磁性吸附到iPad Pro上充电。今年年初,苹果还拿下一项多设备间无线充电的新专利。目前的种种迹象表明,苹果想要通过设备互充,简化繁琐的充电步骤,丢掉杂乱的充电线,让充电更加轻松。

苹果此次获批的两项专利涵盖面很广,既有提升保护性能的常规内容,也有一些新奇创想。但是,两项专利都只是针对设备保护壳,并没有提到在其他设备上添加类似iPad Pro的磁性吸附充电功能。

一、能给Airpods充电的设备保护壳

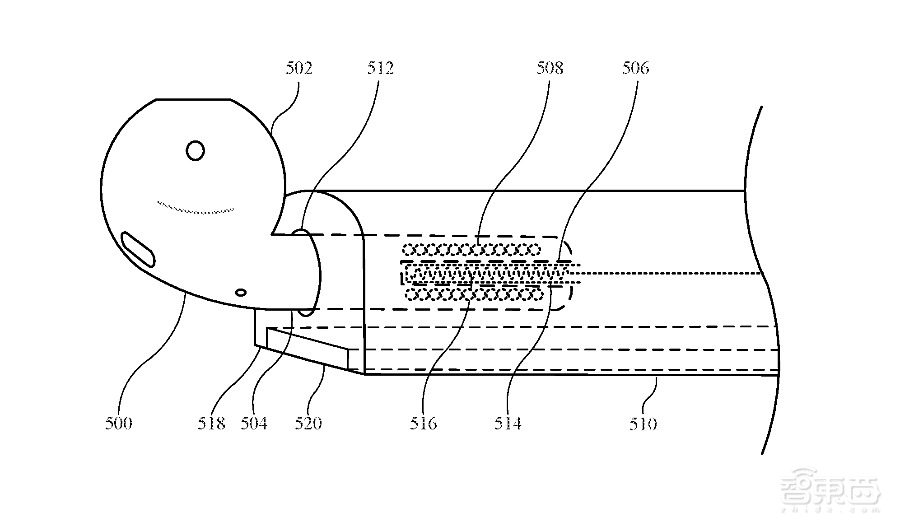
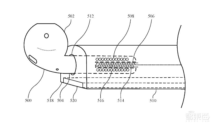
其中一项重大新专利名为《可为配件充电的多形态设备保护壳“Cases and folios for carrying and charging accessories”》,探讨了保护壳的丰富可能性。苹果透露,这些内容都和保护便携式电子设备及配件的保护壳有关

这种保护壳表面置有空腔,供配件充电使用。但其具体样式还不确定,苹果称:可以是双开式、钱夹式、铰链式、翻盖式、封壳、皮套、夹扣、封套、臂带样式,或是上述款式混搭。

苹果“保护壳”大变身!给Airpods充电的手机壳、能触控的Smart Cover▲专利书中附有的AirPod充电示意图

专利书中提及了发明初衷:终端用户把配件电用完时,却常常发现没带充电器。

此前,苹果也推出过自带充电功能的手机保护壳。这次的发明不仅具备相同功能,而且手机还可以反过来给保护壳中的配件充电。

专利书指出:保护壳内置有一枚电池,和两端接口。一个接口可以接收可携带设备中的电量,给保护壳电池充电,另一个接口连接保护壳电池,给配件供电。

这样一来,保护壳变得不再只是保护这么简单,还将含有能让Airpods等配件插入充电的插板

该专利称,插板两端可能分别置有一个开口,插入即可为配件充电,在开口之间还会有一个充电端口,负责插板和配件之间的能量传输。

专利插图显示,AirPods通过插入开口进行充电,但是苹果补充道:可能分别或同时使用摩擦扣件、磁吸的方式来固定配件。

苹果“保护壳”大变身!给Airpods充电的手机壳、能触控的Smart Cover▲用iPhone保护壳给AirPods充电

这项专利还探讨了在保护壳上嵌入小型显示屏的可能性,比如用来显示电量。保护壳还可以加入隔层,用于放置现金、卡片等。

这项专利共有八位发明者,其中就有曾为Apple AR开发指尖和脸部映射工具的Yoonhoo Jo

二、升级版Smart Cover:全包裹式、配有触控键入面板

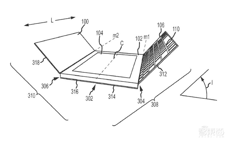
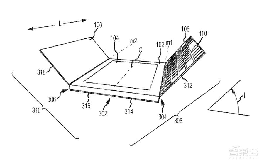
相比第一项专利的八位发明者,第二项专利的发明者只有一位,名为John G. Elias。这项专利也和电子设备保护套相关,其概念和苹果现有的Smart Cover有些类似。

专利书中写道:一般来说,平板电脑保护壳主要是起到保护触摸面板的作用。但是用户还希望把平板背面也护住,避免摩擦、磕碰等外观上的损坏。

为此,该专利提出了一种全包裹式的Smart Cover。不过,苹果公司还指出,这不只是一款能全方位保护设备的产品,它还有很多功能,比如,还可以展开做支架使用。

从专利书中的插图和文字推断,这款保护壳还可能配有键盘。虽然苹果等厂商已经发布过带键盘的双开式保护套,但这款保护壳的键盘和以往大不一样。

苹果“保护壳”大变身!给Airpods充电的手机壳、能触控的Smart Cover▲配有键盘的双开式iPad保护套示意图

专利书中指出:这款键盘可能会采取多点触控键盘的形式,能同时接收键盘输入和触摸输入。键盘配有透明和/或半透明的触摸面板,同时嵌有按照常规顺序排列的几个实体按键。

因此,可以推断,这款键盘套看起来更像是iPad上唤起的屏幕虚拟键盘。用户可以通过在特定键上方的光滑区域点触输入,或使用滑动等手势在光滑表面上进行操作。

结语:苹果力图变革充电体验

从近期苹果发布的多项专利可以看出,苹果对于改革充电形式的关注。

今年,1月初,苹果曾发布一项多款设备间无线互充的专利,提出用一个甚至零个充电头一口气充四五台设备的概念,希望通过套娃式充电减少充电负担。

如今,苹果还想在设备保护壳中内嵌充电装置,给配件充电,可谓是想尽办法降低充电线和充电插头的存在感。

不过,发热、能效等问题仍是类似专利落地应用无法回避的难题。而且,保护壳需随身携带,加入充电等新功能的同时,如何做到轻薄、美观,无疑也是苹果需要关注的重点。

不管这两款专利是否能最终走到消费者手中,它们的出现再次向我们证明,苹果从未停止创新的脚步。

来源:AppleInsider