智东西(公众号:zhidxcom)
编 | 翰阳
智东西早报
第108期 2015.8.16 周日
周末关注
1. 传苹果不会在今年秋天推出iPad Air 3。
据台湾电子时报(DigiTimes)报道,苹果今年秋天新产品发布会不会推出新产品iPad Air 3,可能只有iPad mini 4。
据悉,作为iPad mini的升级版,iPad mini 4正在有效地准备之中,苹果供应链已在为该产品生产部件。预计iPad mini 4只是对iPad mini 3的一个适度提升,不过增加了Touch ID和金色选择。另一家台湾媒体联合报系经济日报(Economic Daily News)上个月也曾报道了同样的消息,并且表示苹果今年秋天不会推出iPad Air 3,以便将精力聚焦于12.9英寸的iPad Pro,同时也为减轻苹果主要代工合作伙伴富士康的生产压力。
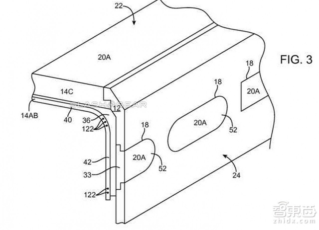
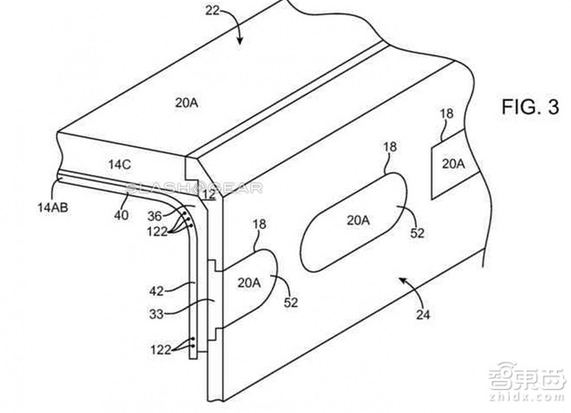
2. 苹果新专利:iPhone配侧屏代替控制按钮?
据外媒曝光的美国专利局文件显示,苹果曾经提交过一份与三星相似的侧显示屏的专利,并且包括了可灵活部署的各类按键,比如启动相机、音量切换,或者在拍照 和录像模式之间进行切换。侧屏设计包括平面型辅助侧屏或顶部屏幕,也包括类似于Samsung Galaxy S6 Edge的曲面式侧屏设计,而更多的专利图显示显示在侧面的虚拟按钮可以随应用切换。
虽然获得专利并不代表苹果马上会应用于即将发布的iPhone上,不过可以肯定的是苹果将会趋向于减少物理实体按键的设计,通过更多虚拟按键实现功能。
根据应用改变虚拟按键功能的平面型辅助侧屏或顶部屏幕,在侧屏包含许多虚拟按键,但侧面仍保持平面设计,也可以看出倒角设计。虚拟按键可以随应用和设置改变功能,多为控制类按钮。
3. 苹果拟在前美海军基地测试“Project Titan”无人驾驶汽车。
日前,有消息传出,称苹果计划在旧金山附近的GoMentum基地上租下一块地作为“Project Titan”无人驾驶汽车的测试场地。GoMentum曾经是一个海军基地,苹果计划租下的地面面积为2100英亩。
该一讯息则还证实了今年3月曝出的苹果正在研发无人驾驶汽车的消息。消息源称,“Project Titan”是苹果一个顶级机密项目,代号SG5。
一直以来,很多人都相信SixtyEight Research是苹果的一家空壳公司。相关文件披露,该家公司购买了一辆1957菲亚特Multipla 600,而苹果首席设计师对菲亚特的喜爱一直都是众所周知的。
4. 谷歌重组致模块手机Project Ara测试暂被叫停。
由于谷歌创建母公司Alphabet并展开业务重组,公司Project Ara模块手机项目测试暂时被搁浅。
谷歌发言人证实,Project Ara模块智能手机测试原计划在波多黎各进行,但现在暂被叫停。未来是否会再次开始测试计划,以及测试地点选择哪里,尚未可知。
谷歌的Project Ara模块手机用户,可利用可互换的通用组件组装手机,包括摄像头、显示屏和处理器在内,均可选择来自不同厂商的个性化配置。如果用户觉得处理器过时,可以随时将其换成新品。谷歌希望Project Ara项目能够加速手机组件的创新和发展。
5. 高通正式宣布24亿美元收购物联网及车载芯片制造商CSR。
高通昨日宣布,其间接全资子公司Qualcomm Global Trading Pte. Ltd已完成对CSR公司的收购。CSR是万物互联(IoE)和汽车领域领先的无晶圆端到端半导体和软件解决方案提供商。收购以约22亿美元企业价值(24亿美元股权价值)完成,将对高通目前的产品组合进行补充。该收购为高通在万物互联和汽车两大关键增长领域带来了强有力的新产品组合、销售渠道和大量客户。
Cambridge Silicon Radio Limited目前是CSR的间接全资子公司,与其附属机构一起实质管理CSR全部工程、研发职能部门以及全部CSR产品和服务业务。Cambridge Silicon Radio Limited将更名为Qualcomm Technologies International, Ltd.,并成为高通子公司。
6. 索尼Z5+或将搭载自家4K电视上的图像处理引擎。
索尼新旗舰Z5+将采用4K屏幕一事被炒得沸沸扬扬,现在又有人爆出索尼新机S70+和S70/S60将使用由索尼显示影像提供的新版“4K X-Reality” 以及 “X-Reality” 图像处理引擎,并且新机都搭载“特丽魅彩技术”以及“精准色彩渲染技术”。
种种迹象表明:Xperia Z5+为S70+,采用4K显示屏,S60为Xperia Z5 Compact,S70为Xperia Z5。
7. 全球首架载客太阳能飞机双向飞越阿尔卑斯山脉。
双座型太阳能飞机Sunseeker Duo被誉为有史以来最高效的太阳能动力飞机,是全球首架可搭载乘客(双座型)太阳能飞机。
最近,德国的PC航空表示,太阳能飞机EOS(Elektra One Solar )完成了双向飞越阿尔卑斯山的壮举。Solar Flight创始人Eric Raymond近日也驾驶Sunseeker Duo完成了他双向飞越阿尔卑斯山的心愿,而且携同他妻子Irena Raymond一起完成此次壮举。
8月2日,Raymond夫妇驾驶Sunseeker Duo从意大利沃盖拉基地出发,在都灵艾里塔利亚机场停歇,随之便开始完成飞越过程,行至他们的折返点瑞士僧侶峰(Mönch),在Munster-Geschinen机场中途折返。飞越过程中天气少量云层,及强逆风为旅行增加了些许挑战。不过最终他们在8月7日返回了他们出发地沃盖拉。飞行过程中攀至4545米的海拔高度。
公司宣称Sunseeker Duo已经能够在只依靠太阳能的情况下载2人在空中飞行12个小时。该飞机翼展达22米重量为280千克。共拥有1510颗太阳能电池,分布在机翼和尾翼表面。收集到的太阳能可以存储在位于机身的锂聚合物电池组块内。飞机的电机最大可以输出25千瓦。
8. 英国欲借无人机来“消灭”到处抢劫的海鸥。
无人机的用户现在已经越来越广,甚至已经可以用来调节生态环境。BBC报道,英国一位镇议会议员雷厄姆·罗伯茨计划建议使用无人驾驶飞机来削减正在英国泛滥成灾的海鸥。凶悍的海鸥最近已经对人类的生活造成了不少困扰,大量排泄物不仅污染了环境,还经常发生攻击人类的事件。
最近一位住在海岸边名叫怀特的男孩就被海鸥抢走了冰淇淋,他向议员表示愤怒后,就有了这一议案。
议员的想法是,用无人机向人类难以到达的海鸥的巢穴喷洒化学制剂,令鸟蛋停止孵化,这样可以缓慢减少附近鸟类的数量。这一议案将在8月27日提交议会。
今日活动
1. 上海:2015土豆映像季
8月15日-8月16日 上海世博公园
极果酷玩今明两日正在2015土豆映像季上漂流,将全球独家首发体验Parrot系列新品,上百件酷品体验区位于上海世博公园内23号展位。
活动网址:http://v.tudou.com/tdvf/
2. 成都:英特尔中美创客大赛
8月16日-8月18日 成都世纪城国际会议中心
活动网址:http://2015.chinaus-maker.org
3. 深圳:TechParty创客与智能硬件专题沙龙
8月16日 13:30-17:30 深圳富利臻大厦思微众创空间
活动网址:http://www.huodongxing.com/event/1293830518700
每日一早报
热点·新品·招聘·资源·活动 最有效的行业对接
需求对接:微信添加“autocratel”









