潜望式结构助力手机突破拍照变焦瓶颈,手机厚度变薄趋势下兴起。拍摄变焦主要分为数码变焦、光学变焦和“接力式”变焦三种方式,其中“接力式”变焦为当前主流手机拍摄变焦方案。通常,镜头焦距越长,变焦倍数越高,然而受制于机身厚度,手机长焦镜头的长度有限,不能完成高倍数的变焦拍摄。潜望式结构通过横置长焦镜头,在不增加模组厚度的前提下,为手机使用更长焦距的镜头带来更大可能,提升了镜头“接力式”变焦倍数上限。带潜望式功能的摄像模组一般由“潜望式长焦镜头+常规短焦镜头(广角、超广角、主摄等)”组成,其他常规镜头与长焦镜头配合,完成“接力式”变焦。
本期的智能内参,我们推荐中信证券的报告《潜望式机型升级至 10 倍光变,移动摄影再登巅峰》, 揭秘潜望式镜头的下沉趋势,以及相关的棱镜、镜头、模组产业链的新发展。如果想收藏本文的报告(潜望式机型升级至 10 倍光变,移动摄影再登巅峰),可以在智东西(公众号:zhidxcom)回复关键词“nc446”获取。
本期内参来源:中信证券
原标题:
《潜望式机型升级至 10 倍光变,移动摄影再登巅峰》
作者: 徐涛 胡叶倩雯
2020 年 3 月 26 日,华为举办全球线上发布会,发布其全新 P40 系列手机,包括 P40、P40 PRO 和 P40 PRO+三个版本,全系搭载麒麟 990 5G 处理器,并预置发布不久的 HMS服务。华为 P 系列向来以影像著称,摄像头依然是本次 P40 系列的亮点。三个版本机型分别搭载三颗/四颗/五颗后置摄像头,其中 P40 PRO/PRO+均前置 32MP自动对焦摄像头,搭载红外深度摄像头,能够实现专业级的背景虚化,可进行 AI 隔空操控,能在暗光条件下迅速进行脸部解锁。
后置来看,P40 PRO 延续潜望式长焦设计,后置搭载索尼定制 50MP主摄,并且辅以 40MP(超广角)+12MP(潜望式长焦)+3D TOF(景深镜头),可实现 5倍光学变焦、10 倍混合变焦、50 倍数码变焦,与 P30 PRO 相比采取新的 RYYB 感光元件进光量提升 40%,带来更强大的变焦能力;P40 PRO+搭载 50MP(主摄)+40MP(超广角)+8MP(潜望式长焦)+8MP(长焦)+3D ToF(景深镜头),为全球首款支持双目光学长焦的机型,3 倍光学长焦拍摄中等距离,10 光学长焦拍摄远景,可支持 10 倍光学变焦,20 倍混合变焦,100 倍数码变焦,实现从 3 倍光变(P20 PRO)、5 倍光变(P30 PRO)到 10 倍光变(P40 PRO+)的飞跃,也是全球首款光学变焦高达 10 倍的手机,具备史上最强智能手机变焦性能,标志着移动摄影再登巅峰。

▲华为 P40 系列手机

▲华为 P40 系列手机参数对比
一、 潜望式结构源于拍照望远需求,手机端初兴起
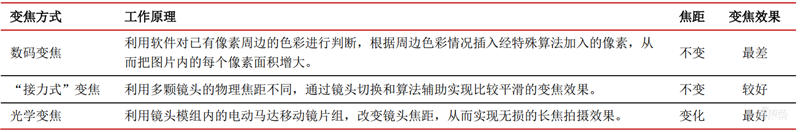
传统相机变焦方式多为光学变焦,手机端早期多采用数码变焦,升级诞生“接力式”变焦。传统相机中,由于空间足够,拍照变焦方案多采用光学变焦。(1)光学变焦:利用镜头模组内的电动马达移动镜片组,从而改变镜头焦距,实现无损的长焦拍摄效果。镜头越长,焦距可变物理范围越大,变焦倍数越大。但这种方式要求在镜头模组内部配置电动马达,技术难度高且耗电量大,多用于专业相机中,难以在手机端普及。(2)数码变焦:手机镜头早期多采用数码变焦的方式,利用软件对已有像素周边的色彩进行判断,根据周边色彩情况插入经特殊算法加入的像素,从而把图片内的每个像素面积增大。这种变焦方式不改变镜头焦距,对画质的损害也很大。在变焦效果升级需求的驱动下,手机端诞生出(3)“接力式”变焦方式:利用两颗/多颗定焦镜头的物理焦距不同,通过镜头切换和算法辅助实现比较平滑的变焦效果。此方式虽本质上并未改变镜头物理焦距,但实际效果可以与光学变焦媲美,变焦倍数等于长焦镜头等效焦段与广角镜头等效焦段之比,如实际等效焦段为 28mm-56mm 的广角+长焦双摄可实现 2X“接力式”变焦(56mm/28mm=2)。

▲不同变焦方式对比
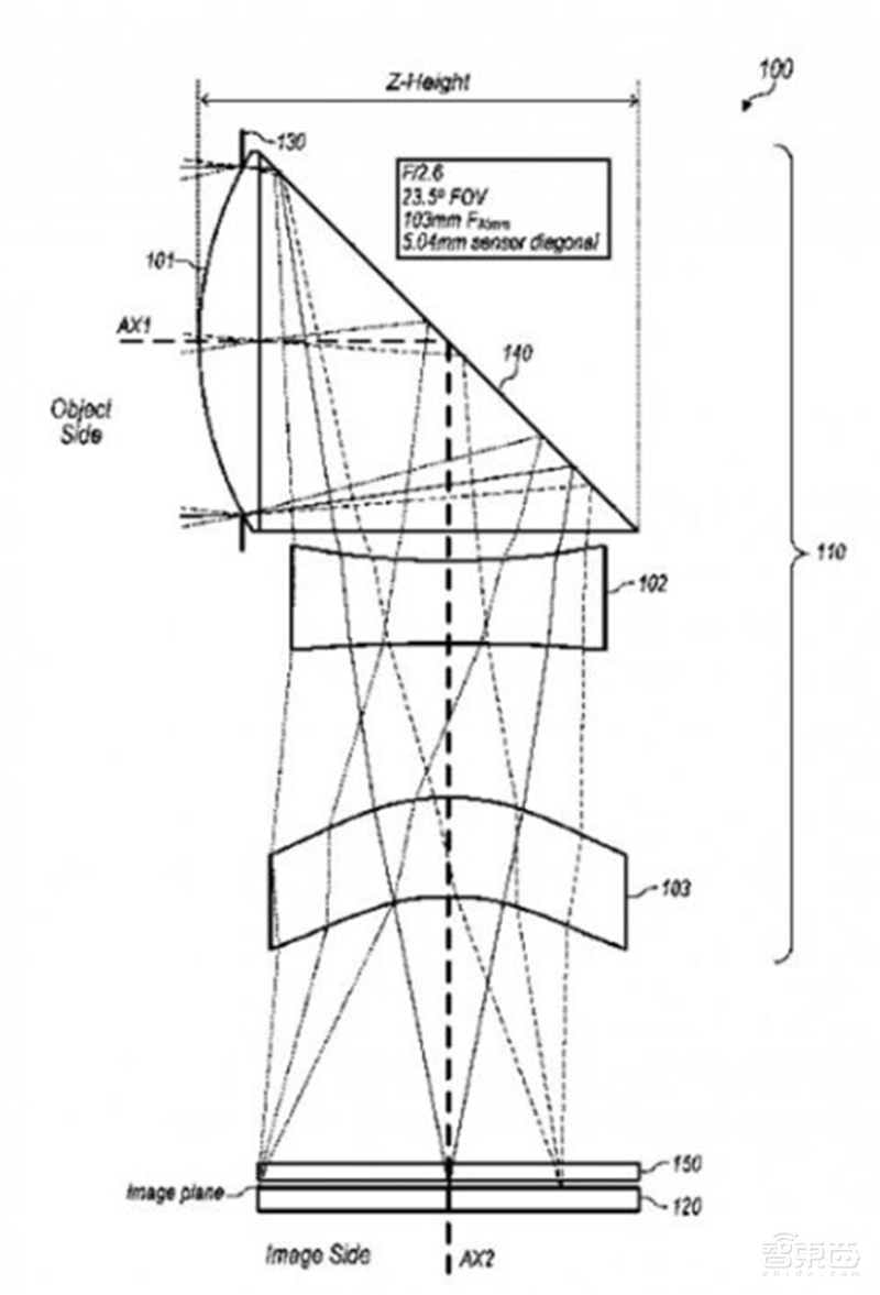
潜望式结构:横向放置长焦镜头,在不增加模组厚度的前提下,实现更高倍数的变焦,为手机端未来趋势。潜望式结构是一种通过折射棱镜改变光路方向(如将垂直于机身的光线折射为平行光线),从而使得相应光学成像系统可以在手机内部横向放置的镜头结构。优势在于(1)不增加模组厚度:镜头在相机/手机内部横向放置,不必让长焦镜头明显突出机身从而影响产品一体性。(2)提升变焦倍数:变焦倍数与焦距可变物理范围(即镜头长度)直接相关。由于相机中空间足够,小型化需求并不强烈,潜望式结构又伴随变焦倍数受限、加工成本上升等问题,故主流相机厂商仅应用潜望式至单个系列,并未全面普及。但在手机端,由于手机镜头目前采用“接力式”变焦方式,长焦镜头的焦距(即镜头长度)是限制手机镜头变焦倍数提升的直接因素,在手机轻薄化趋势下,潜望式结构设计为手机应用更长焦距的镜头带来更大可能。

▲潜望式模组内部结构示意图
带潜望式功能的摄像模组一般由“潜望式长焦镜头+常规短焦镜头(广角、超广角、主摄等)”组成。在手机“接力式”变焦的方式下,利用潜望式结构进行变焦的模组设计方案为潜望式长焦镜头+常规短焦镜头(常规短焦镜头包括广角镜头、超广角镜头、主摄像头等),即只有长焦镜头采用潜望式结构,其他镜头仍采用常规设计。潜望式长焦镜头在不增加模组厚度的前提下提升了镜头“接力式”变焦倍数上限,其他常规镜头与长焦镜头配合,完成“接力式”变焦。

▲松下 DMC—TZ1 10 倍光学变焦潜望式镜头示意图

▲松下 DMC—TZ1 10 倍光学变焦潜望式镜头光学结构
二、 潜望式机型有望下沉至中低端,今年可期突破 1 亿部
本章小结:以华为 P30 PRO 为标志,2019 年至今已有 6 款安卓高端机搭载潜望式结构,总体来看,目前安卓阵营除小米外已全部推出搭载潜望式摄像头机型,其中华为/OPPO潜望式结构手机已迭代至第二代产品。2019 年搭载潜望式摄像头手机出货量估计为 0.15亿部,来自华为、OPPO 和 VIVO。比较各家方案而言,各方案原理相同,均采用“接力式”原理,通过三颗定焦镜头切换+算法辅助实现“类光变”无损拍摄;差异之处在于硬件参数及软件算法不同。展望未来,预计安卓系有望全线搭载潜望式结构,并从高端下沉至中低端机型,零部件厂商也正配合进行降成本研发,Sigmaintell 乐观看 2020 年出货量有望达 1 亿颗,2023 年有望突破 4 亿颗;然新冠疫情蔓延至全球,或对 2020 年潜望式摄像头出货量产生一定程度负面影响。关于疫情对厂商出货的影响我们还将持续观察。
1、 回顾发展史,19 年至今已有 7 款高端机搭载潜望式结构,华 O 迭代至二代
2004-2018 年:潜望式结构在手机端应用较少,轻薄化趋势下真正光学变焦难以普及。继相机端应用之后,潜望式镜头结构在手机端也进行了尝试,初期搭载潜望式结构的手机,均通过镜头模组内的电动马达移动镜片组,改变镜头焦距,从而实现无损的长焦拍摄效果,为真正意义上的光学变焦。2004 年,夏普推出了世界上第一台搭载潜望式结构的手机V602SH,具备 2 倍光学变焦,搭载 1.3MP 像素的 CCD 感光元件。2008 年,索爱也推出搭载潜望式结构、具备 3 倍光学变焦的手机 SO905iCS,搭载 5.1MP 像素的 CCD 感光元件,其主打拍照,性能达到了卡片相机级别,但未在国内上市。
2015 年,华硕推出具有 3倍光学变焦效果的手机 ZenFone Zoom,搭载 13MP 像素的 CMOS 感光元件,采用日本HOYA 的 10 片式摄像头模组,是智能机时代首部搭载潜望式结构的手机。然而真正意义上的光学变焦摄像头应用于手机端存在耗电高和体积大的问题:变焦镜头需利用马达驱动镜片组内的部分镜片移动进行变焦,这种变焦方式无需广角镜头与算法处理配合即可实现无损拍摄,但是会增加手机的能耗负担,同时还需要更大的散热空间,导致机身普遍偏厚,华硕 ZenFone Zoom 厚度为 11.9mm,相比之下华为 P30 PRO 厚度为 8.14mm,上述特性与手机轻薄化趋势难以兼容。因此,真正的光学变焦功能未能在手机端普及。

▲华硕 ZenFone Zoom

▲ZenFone Zoom 潜望镜组
2019 年至今:已有 7 款安卓高端机搭载潜望式结构,其中华为和 OPPO 已迭代至二代产品。在 2017 年的 MWC 上,OPPO 与以色列 Core Photonics 合作,公布了一项 5 倍无损变焦潜望式结构技术,宣称已把潜望式摄像头模组的厚度降低到 5.7mm,比普通 2 倍变焦光学模组的厚度还薄 10%。国内第一款采用潜望式接力变焦模组的是华为于 2019 年3 月发布的 P30 PRO,其后置搭载 20MP(超广角)+40MP(广角主摄)+8MP(潜望式长焦)+ToF 模组(景深镜头),可实现 5 倍光学变焦、10 倍混合变焦及 50 倍数码变焦。2019 年 4 月,OPPO 发布的新款旗舰机 RENO 10 倍变焦版同样采用潜望式结构设计,其后置搭载 8MP(超广角)+48MP(广角主摄)+13MP(潜望式长焦),可实现 10 倍混合光学变焦及 60 倍数码变焦。2019 年 12 月,VIVO 发布的 X30 PRO 也搭载了潜望式摄像模组,其后置搭载 8MP(超广角)+64MP(广角主摄)+13MP(潜望式长焦)+32MP(人像镜头),可实现 5 倍光学变焦、10 倍混合光学变焦及 50 倍数码变焦。2020 年 2 月,三星发布 S 系列旗舰新机 Galaxy S20 Ultra,为三星首款搭载潜望式结构的机型,其后置搭载 12MP(超广角)+108MP(广角主摄)+48MP(潜望式长焦)+ToF 模组(景深镜头), 可实现 10 倍混合光学变焦及 100 倍数码变焦。
2020 年 3 月,OPPO 推出旗下第二款搭载潜望式结构机型 Find X2 PRO,后置搭载 48MP(超广角)+48MP(广角主摄)+13MP(潜望式长焦),其中潜望式长焦镜头与 RENO 变焦版所搭载的规格相同,同样可实现10 倍混合光学变焦及 60 倍数码变焦。同月,华为 P40 系列新推出两款搭载潜望式结构机型,其中 P40 PRO 后置搭载 40MP(超广角)+50MP(主摄)+12MP(潜望式长焦)+TOF模组(景深镜头),可实现 5 倍光学变焦、10 倍混合光学变焦及 50 倍数码变焦;P40 PRO+升级版参数再创记录,搭载 40MP(超广角)+50MP(主摄)+8MP(长焦)+8MP(潜望式长焦)+TOF 模组(景深镜头),可实现 10 倍光学变焦、20 倍混合光学变焦及 100 倍数码变焦。总体来看,目前安卓阵营除小米外已全部推出搭载潜望式摄像头机型,其中华为/OPPO 潜望式结构手机已迭代至第二代产品,华为 P40 PRO+实现了从 5 倍光变到 10倍光变的飞跃,但镜头像素保持不变,而华为 P40 PRO 则在潜望式长焦镜头的像素上进一步升级;OPPO 也在像素方面有所改善。

▲从左到右依次为华为 P30 PRO、OPPO RENO 10 倍变焦版、VIVO X30 PRO 和三星 S20 Ultra 潜望式镜头

▲华为 P40 PRO 潜望式镜头

▲华为 P40 PRO+潜望式镜头
2、比较各家方案,均采用“接力式变焦”,焦距比、算法和像素决定性能
各方案原理相同,均采用“接力式”原理,通过三颗定焦镜头切换+算法辅助实现“类光变”无损拍摄。2019 年至今的 6 款搭载潜望式结构机型的“接力式变焦”方案工作原理没有差别,均为利用三颗定焦镜头的物理焦距不同,通过镜头切换和算法辅助实现比较平滑的“类光变”无损拍摄效果。以华为 P40 PRO 为例:2020 年 3 月推出的华为 P40 PRO搭载广角主摄(等效焦距 23mm)+超广角(等效焦距 18mm)+潜望式长焦(等效焦距 125mm)方案,在广角主摄与长焦镜头的配合下可实现 5X 光学变焦(实际等效焦段为23mm-125mm),同时18mm 超广角镜头赋予其 0.8X 超广角变焦的能力。
华为 P40 PRO光学变焦的具体过程为:(1)变焦倍数为 0.8X 时,单颗超广角镜头进行无损拍摄;(2)变焦倍数为 0.8-1X 时,单颗超广角镜头在自身焦段范围内实现数码变焦;(3)变焦倍数为 1X 时,单颗广角主摄像头进行无损拍摄;(4)变焦倍数为 1-5X 时,单颗广角主摄像头在自身焦段范围内实现数码变焦;(5)变焦倍数为 5X 时,单颗潜望式长焦镜头进行无损拍摄;(6)变焦倍数为 5-10X 时,广角主摄镜头和潜望式长焦镜头依然配合数码变焦实现工作,但以潜望式长焦镜头拍摄为主,主要靠算法裁剪,因此画质将出现明显的损伤。在算法的辅助下,上述过程可以在变焦倍数 0.8-10X 间可以实现平滑的“接力”效果,虽然没有改变单颗镜头的焦距,但可以实现类似光学变焦的拍摄效果。

▲华为 P40 PRO“接力式”变焦过程
各方案差异之处:硬件参数及软件算法不同。其中光变倍数看长焦与广角镜头的焦距之比,混合变焦倍数看算法,数码变焦倍数看镜头像素。
镜头硬件有差异:长焦镜头等效焦距与广角镜头等效焦距之比决定了光学变焦倍数,比例越大,变倍效果越好。P40 PRO+拥有 10 倍光学变焦效果(240/23≈10.43),P40 PRO、P30 PRO 和 X30 PRO 的光学变焦效果均达到 5 倍,RENO 变焦版和 S20 Ultra未直接公布光学变焦倍数。我们根据后两者摄像模组的参数测算其倍数,若以 RENO 变焦版的主摄焦段视作 1 倍光学变焦,其广角主摄镜头、潜望式长焦镜头等效焦距分别为 27mm、160mm,计算得出其支持 6 倍左右光学变焦效果(160/27≈5.93),同理测算出 S20 Ultra支持 4 倍左右光学变焦效果(102/26≈3.92)。四家厂商在尝试首款潜望式结构机型后,陆续发布了其他未搭载潜望式摄像头的新款机型,华为 Mate30 系列手机只支持 3 倍光学变焦,OPPO RENO2 在镜头隐藏在机身内的情况下只能实现 5 倍混合变焦。经对比我们发现,要在保持机身轻薄的同时实现 4 倍以上的真光学变焦效果,搭载潜望式结构是目前的必然选择。
软件算法有差异:厂商内置的算法在后台进行合成,达到混合变倍功能。在光学变焦倍数与混合变焦倍数之间,广角主摄镜头与潜望式长焦镜头配合进行数码变焦,两个摄像头同时拍摄远景和近景照片,在后台进行算法合成,成像效果可以达到光学变焦的效果。已发布的 6 款机型虽然摄像模组参数有所差异,但通过算法调用均实现了 10 倍的混合变焦效果;而P40 PRO+则进一步升级,其拥有的 10 倍潜望式镜头可实现 20 倍混合光学变焦。
像素硬件有差异:像素清晰度决定了数码变焦倍数,越高清变倍率越大。当变焦倍数达到混合光变倍数以上时,成像效果仅取决于由潜望式长焦镜头的像素。P40 PRO+因潜望式长焦镜头焦距长达 240mm,经过像素裁减后可达到 100 倍数码变焦,而 S20 Ultra潜望式长焦镜头等效焦距仅有 102mm,不足 P40 PRO+的一半,但通过使用 48MP 的高像素感光元件,进行裁切以及 AI 运算后仍然可以支持高达 100 倍的变焦倍率,与 P40PRO+在所有机型中并列第一。

▲潜望式结构机型摄像模组参数与性能比较
3、 趋势上,潜望式结构获手机厂和零部件厂商共同认可,有望下沉至中低端
终端手机厂商对潜望式态度:华为引领,安卓系全线跟进,北美大客户暂未搭载,后续有待观望。摄像头是智能手机创新升级的主要方向之一,光学性能提升对消费者视觉体验有明显升级,拍摄性能已成为各手机品牌竞争的焦点。目前大部分手机厂商对潜望式结构摄像头布局较为积极,华为引领下,安卓阵营大部分已推出潜望式结构手机,唯一未推出的小米目前已有相关专利。北美大客户暂未推出相关产品,布局情况仍有待后续观望。
安卓阵营:全线跟进。其中华为对潜望式结构最为积极,于 2019 年推出首款搭载潜望式长焦的 P30 PRO,开启智能手机潜望式镜头发展元年;2020 年发布的 P40 系列中 P40 PRO 和 P40 PRO+继续搭载潜望式摄像头,推广度进一步提升,且 PRO+更是开创性配备多反射潜望式长焦镜头;我们预计华为下一代 Mate 40 系列亦有望搭载潜望式结构摄像头,打造光学亮点。OPPO 与 VIVO 紧随其后,均于 2019 年推出首款搭载潜望式结构机型,OPPO 还在 2020 年推出了第二款。三星虽落后一年,在 2020 年才推出首款,但其布局较早,2019 年并购 Core Photonics(其为 2017MWC 上与 OPPO 合作公布潜望式结构技术的摄像头公司),随后三星电机成功开发了超薄型 5 倍光学变焦模块,并已在19 年 5 月进入量产;预计在 S20 Ultra 之后,三星 Galaxy 系列手机亦有望搭载潜望式结构。
小米目前尚未推出搭载潜望式结构机型,但是国家知识产权局 2019 年 7 月 2 日公示了小米一项专利,专利摘要显示“本公开是关于一种摄像头组件及电子设备,所述摄像头组件包括:主镜头和至少一个潜望式辅助镜头”;且小米此前已经向世界知识产权局(WIPO)提交了潜望式镜头专利,专利文件显示该机型采用了弹出式前置摄像头设计,后置竖排四摄,其中顶部为潜望式镜头,这一设计与华为 P30 PRO 和 OPPO Reno 10 倍变焦版所采用的方案类似,我们预测小米下一代产品或将搭载潜望式摄像头。
北美客户:对潜望式结构态度尚不明晰。北美客户早在 2014 年就申请了名为可折叠长焦相机镜头系统的专利,试图解决摄像头凸出的问题,在这组镜头里有可以移动的浮动镜组,通过数分之一毫米的微小浮动来实现变焦,原理与前文提及的华硕 ZenFoneZoom 类似,但并未有后续进展。
2019 年 10 月 8 日,美国专利及商标局公布了北美客户名为折叠镜头系统的新专利,其内部有三到五个镜片,通过棱镜折射实现变焦,三镜片设置可以提供 80-200mm 焦距,适用于长焦拍摄,五镜片设置提供 50-85mm,主要用于广角镜头。然而,相关潜望式结构专利虽然代表了北美客户的研究和开发方向,但并不能保证潜望式结构会被应用在其未来的新机型上。目前北美客户对潜望式结构的态度仍不明朗,我们将对其后续布局情况进行持续跟踪。

▲小米摄像头组件及电子设备专利示意图

▲北美客户可折叠长焦相机镜头系统专利示意图

▲北美客户三镜头折叠镜头系统专利示意图

▲北美客户五镜头折叠镜头系统专利示意图
上游厂商对潜望式结构态度:均看好潜望式发展,积极研发致力推动机型下沉,但技术趋势尚存争议。上游包括棱镜模块、镜头、算法和模组在内的供应商普遍看好潜望式结构的发展,认为光学升级趋势源于需求端的爆发,将持续利好行业。其中部分厂商正致力于改进方案、降低成本,以将潜望式结构的机型下沉至中低端;在镜头发展的技术趋势上,虽然采用玻塑混合还是全塑镜头依然有争议,但多数厂商均同时布局。

▲部分零部件厂商对潜望式结构的态度汇总
4、展望未来,搭载潜望式结构手机的出货量乐观看 2023 年有望突破 4 亿部
潜望式摄像头出货量:Sigmaintell 乐观估计 2020 年增长六倍以上达到 1 亿颗,2023年有望突破 4 亿颗;疫情影响下渗透速度或放缓,但不改长期趋势。目前来看潜望式结构主要应用于长焦摄像头,每部手机最多只需搭载一个潜望式模组。根据 Sigmaintell,2019年搭载潜望式摄像头手机出货量估计为 0.15 亿部,均来自华为、OPPO 和 VIVO。截至目前,安卓阵营除小米以外均已推出搭载潜望式摄像头的手机,华为/OPPO 相关产品已迭代至第二代。
Sigmaintell 认为 2020 年高倍率的潜望摄像头有望下探到 2500 元左右的机型,预计将会达到 1 亿颗的出货量,其中华为有望占据半壁江山。随消费者对“拍得清、拍得远”需求的提升,各大手机厂商也将继续挖掘潜望式镜头的能力。中国信通院和旷视科技发布的《2019 智能手机影像技术应用观察和趋势分析》指出,未来潜望式摄像头将成为中低端手机的标配,Sigmaintell 预计,2023 年出货量将突破 4 亿颗。然而本次新型冠状病毒肺炎疫情波及全球,三星电子主要负责手机研发和生产的龟尾产业园所在地与韩国疫情最严重的地区大邱相邻,曾确诊 4 例新冠肺炎患者,产线 2 次停运,或对 2020 年潜望式摄像头出货量产生一定程度负面影响。关于疫情对厂商出货的影响我们还将持续观察。

▲2019-2023 搭载潜望式模组手机出货量(百万部)

▲2020 年搭载潜望式模组手机各品牌占比
三、 产业链初具雏形,棱镜模块、镜头及组装成最大增量
摄像头产业链包括上游零部件、中游模组封装与下游手机终端,上游零部件厂提供镜头、CIS 和 VCM 等给中游模组厂,下游手机厂采购算法并授权给中游模组厂,最终由中游模组厂将零部件组装成摄像头模组并交付给下游手机厂。对比华为 P20 PRO 的后置三摄和华为 P30 PRO 的后置潜望四摄,除新增的 TOF 模组外,变化主要来自于 P20 PRO的 3 倍光变长焦镜头升级成了 P30 PRO 的 5 倍光变潜望式长焦镜头,模组由普通摄像头变成潜望式长焦摄像头带来了产业链的一系列变化。

▲华为 P20 PRO 与 P30 PRO 后置摄像模组对比

▲华为 P20 PRO 与 P30 PRO 长焦/潜望式长焦镜头对比
潜望式长焦模组的产业链依然包括上游零部件、中游模组封装与下游手机终端三部分,但是各部分均有升级。
(1)从上游零部件来看,潜望式结构的零部件主要包括棱镜模块、镜头、CIS 和 VCM,在零部件厂中新增了提供棱镜模块的厂商,棱镜模块需对棱镜做进一步工艺处理,且通过与其他组件配合实现光学防抖效果;潜望式结构对透光性要求的提升使镜头厂需要重新设计镜头组合,手机厚度的限制造成镜片也需要进一步加工,且长远来看,镜头将向更高规格的全塑和玻塑混合镜头升级;潜望式长焦镜头的 CIS 与其他镜头相比没有特殊的要求,且由于尺寸受手机厚度的限制,目前大多使用 1300 万像素左右的 CIS规格。(2)下游组合而言,由于潜望式结构所需算法的复杂度显著提升,叠加手机厂希望融入自身对场景的理解,以 HOVM 为代表的部分手机厂从采购第三方算法转向自研算法,料使得专业算法提供商的市场空间短期承压。(3)中游模组制作来看,含潜望式结构模组的装配公差对一致性要求更高,导致二线模组厂难以突破含潜望式结构模组的进入壁垒。

▲潜望式长焦模组详解

▲长焦镜模组与潜望式长焦模组差异对比
1、 棱镜模块:单块 1-3 美金增量
棱镜模块是潜望式结构新增部件,棱镜制备与光学防抖提升工艺难度。棱镜模块是潜望式结构相对其他摄像头唯一新增的零部件,棱镜模块由棱镜、安装座、二轴铰链、驱动装置和镜筒组成,其工作原理为将入射光线由进光轴反射到成像光轴,以便光线通过镜头在图像传感器上成像。
棱镜模块的工艺难度体现在(1)棱镜制备需做硬化、遮光和切割处理,较传统工艺有差异。首先由于棱镜由玻璃材质构成,质地较脆需做硬化处理,其次棱镜侧面需要设置遮光材料,防止棱镜侧面向潜望式结构外部反射光线使用户从外部通过进光口看到手机内部结构,从而提升用户体验,最后远离进光口的棱角由于不影响进光效果,需做切割处理,因此潜望式结构所需棱镜的制备工艺与传统工艺有差异。(2)光学防抖需与其他组件配合,提升工艺复杂度。由于在高倍率远距离拍摄的场景下会造成手抖影响的放大,为了实现光学防抖,棱镜还需要其他组件配合,首先需通过粘胶将棱镜固定在安装座上组成转光元件,再配合二轴铰链与驱动装置将转光元件绕 X 向转动实现在 Y 向的光学防抖效果,X 向的防抖效果亦然,光学防抖效果的增加也使得棱镜模块的工艺复杂度提升。上述工艺的改变使具备棱镜产能的厂商需要重新改造产线方能生产棱镜模块。

▲潜望式结构棱镜模块示意图

▲棱镜模块所需棱镜示意图
棱镜模块单块价值量在3美金以内,国内重点关注舜宇光学科技、中光学和水晶光电。当前棱镜模块单块的 ASP 为 2-3 美元,我们估算其毛利率在 20-30%水平。目前已经量产棱镜模块的厂商分为中国大陆、中国台湾、韩系三大阵营。中国大陆厂商方面,舜宇光学科技具备棱镜生产能力,其产品广泛应用于 AR、数码相机、投影机和 DVD,目前具备量产潜望式结构所需棱镜模块的能力,是华为 P30 PRO 棱镜模块主供之一;中光学有逾六十年的光学冷加工经验,是全球专业的棱镜制造团队之一,月生产各种棱镜、薄膜完工品400 余万件,棱镜系列产品中投影显示系统部分全球市场占有率第一,也是华为 P30 PRO棱镜模块的主供,2018H1 棱镜收入占比 33.39%,毛利率 18.62%;水晶光电亦可量产潜望式结构所需棱镜模块,同时具备生产组合棱镜、微型三棱镜、全反射棱镜和偏振分光棱镜的能力,是华为 P30 PRO 和 OPPO RENO 变焦版棱镜模块的供应商,随产量提升,产品良率正处爬坡期。
中国台湾厂商方面,亚洲光学亦是华为 P30 PRO 棱镜模块的供应商,具备生产高精度单体棱镜、间隙棱镜、楔形棱镜和微型棱镜等多种棱镜产品的能力;韩系厂商方面,Optrontec 具备量产潜望式结构所需棱镜模块的能力,其产品供应 OPPORENO 变焦版和三星 S20 Ultra。潜在供应商来看,福光股份、欧菲光有望进入棱镜模块市场,2020 年 3 月福光股份表示将投入 0.32 亿元用于棱镜冷加工项目,目标产能 54KK/年,欧菲光也在棱镜方面有所布局。随着棱镜模块供应端的进一步扩大和生产良率的持续提升,叠加更多厂商切入棱镜模块制造产业,我们认为棱镜模块厂商议价能力不高,ASP可能在 3 年之内下降到 1 美金。
2、 镜头:潜望式长焦镜头单机价值量 2 美金+
透光性要求提升潜望式长焦镜头研发难度,受限于手机厚度需对镜片进行加工。手机摄像头中除潜望式长焦镜头以外的其他镜头并不受潜望式结构影响,但潜望式长焦镜头的研发难度高于同规格镜头,且需对镜片进行进一步工艺处理。(1)潜望式结构进光量存在先天不足,需重新设计镜头组合提升透光率。一方面,潜望式结构光学变焦倍数的大幅提升建立在更长焦距的基础之上,因此潜望式结构镜头光圈普遍不大,均介于 F/3.0-F/3.5之间,镜头管光圈的缩小造成了进光量的损失;另一方面,进入潜望式结构的光线需要经过棱镜模块的反射,亦造成了进光量的损失。双因素导致潜望式结构在进光量与其他摄像头相比存在先天不足,若在弱光/夜晚环境下进行长焦拍摄,所得图片质量表现更加不佳。为保证成像质量,潜望式结构使用的长焦镜头必须具备更高的透光率,导致镜头设计难度较大,需要镜头厂商重新进行研发投入并设计新的镜头组合。(2)潜望式结构镜片宽度受手机厚度影响,需对镜片进行进一步的工艺处理。虽然潜望式结构的横置使得其焦长不再受到限制,但是其带来了镜片组宽度受限的问题。为控制潜望式结构镜片组的宽度,一种解决方案是运用 D-Cut 工艺,在传统镜片上平行割两刀,降低镜片宽度,这种方案被用于OPPO RENO变焦版和三星S20 Ultra;另一种方案是对镜片组的第一块镜片做裸露处理,使其在镜筒高度方向上裸露于镜筒。

▲镜片 D-Cut 工艺处理方案

▲镜片裸露工艺处理方案
更长远来看,为达到高透光性,潜望式镜头可能朝更高规格全塑方案、或玻塑混合方案升级,技术路径尚存不确定性。华为 P30 PRO 和 OPPO RENO 变焦版搭载的潜望式结构镜头均为 5P 规格。未来,随手机对光学变焦要求的进一步增加,潜望式结构需要更长的焦距,进光量的损失对镜头透光性的要求进一步加大。镜头规格的未来发展路径尚存不确定性,全塑镜头研发难度加大:如果选用全塑镜头,由于潜望式结构的长度不受限制,留给镜头的空间相对充足,为提升透光性,全塑镜头将朝 6P 及以上规格发展,但工艺难度较高,且随着镜片数的增加良率将显著下降;玻塑混合镜头成本偏高 or 良率偏低:如果采用玻璃混合镜头,由于玻璃镜片的透光率达到 99%以上,有利于增强镜头的透光性,然而目前较成熟的模造玻璃工艺采用毫米级注塑工艺,应用在潜望式镜头上的性价比不高,给成本带来挑战,WLG 工艺作为纳米级半导体工艺本属于最佳选择,但目前良率还有待突破。因此未来潜望式结构镜头会选用更高难度的全塑镜头还是更高成本的玻塑混合镜头,有待进一步观察。

▲镜头塑料及玻璃材质对比
潜望式长焦镜头单机价值量 2 美金+,大立光为绝对龙头,港股重点关注舜宇光学科技。当前潜望式结构 5P 镜头 ASP 约为 2 美金。目前有能力量产潜望式结构镜头的厂商有限,大立光是全球光学镜头行业绝对龙头,具备量产潜望式 5P 长焦镜头的能力,是三星S20 Ultra 潜望式结构镜头的供应商,目前已经研发出潜望式结构 6P 镜头,正在设计 7P、8P 规格的潜望式镜头,玻塑混合的潜望式结构镜头也在研发中;舜宇光学科技紧随其后,已经开始大规模量产潜望式结构镜头,是华为 P30 PRO 潜望式结构镜头的供应商,目前已经完成 10 倍光学变焦手机镜头的研发。
其他镜头厂商方面,玉晶光正在配合多家手机品牌客户开发全塑潜望式结构镜头和玻塑混合潜望式结构镜头;欧菲光和联创光电也均有潜望式相关专利,未来有望做出突破;若 AAC 在 WLG 工艺有所突破,有望凭借玻塑混合镜头切入潜望式结构产业链。由于潜望式结构的镜片数不受手机厚度的限制,随着潜望式结构透光性要求的提高,我们认为镜头 ASP 将随规格提升而攀升,潜望式结构或将采用5P 及以上全塑镜头或 1G5P 玻塑混合镜头,6P 镜头 ASP 有望翻番达到 4 美金,1G5P 镜头 ASP 有望达 2.5 美金+。
3、CIS:与其他镜头相比无特殊要求
潜望式镜头 CIS 规格与其他镜头相比无特殊要求,因尺寸受限主要集中在 1300 万像素。潜望式镜头的 CIS 与其他镜头相比没有特殊要求,无需新增其他工艺处理;且由于潜望式结构在手机中被横置,CIS 尺寸受手机厚度限制,暂不具备使用大尺寸 CIS 的空间,而 CIS 的规格与尺寸大小成正相关关系,因此潜望式结构的 CIS 规格相对偏低,以中低端为主。当前搭载潜望式结构机型的长焦摄像头 CIS 像素集中在 1300 万(所有机型中占比60%),华为 P30 Pro 的潜望镜像素不足千万,只有三星 S20 Ultra 的规格达到 4800 万像素。
CIS 正加速国产替代,国内重点关注韦尔股份,非上市公司关注格科微。潜望式结构CIS 的 ASP 因规格而异,8MP/13MP/48MP 的传感器 ASP 分别约 1.5 美金/2 美金/6 美金,高端 CIS 如 48MP 的毛利率区间位于 30-35%,而中低端 CIS 的毛利率仅有 15-20%。
手机 CIS 市场集中度较高,2019 年手机 CIS 市场份额 CR2 达 67%,高端 CIS 市场长期被索尼、三星据,当前潜望式结构 CIS 供应商多为索尼、三星,但自中美贸易争端以来,手机零部件的国产替代进程进一步加速,目前被韦尔股份收购成为中资厂商的豪威科技已经可量产 4 款 1300 万像素的 CIS 和 7 款 800 万像素的 CIS,在高端 CIS 方面,豪威亦已推出 2 款 4800 万像素的 CIS,其中 OV48B 已于 19Q4 量产,目前豪威正凭借新产品打入市场;之前主攻中低端市场的格科微电子也已拥有 1 款 1300 万像素的 CIS 和 2 款 800 万像素的 CIS,并持续突破高端产品。我们认为潜望式结构工艺的持续改善将使 CIS 尺寸突破手机厚度的限制,使 CIS 规格提升,其毛利率和 ASP 将随规格提升而出现双升。
4、算法:复杂度提升,部分手机厂商转向自研算法
配合潜望式结构所需算法的复杂度提升,重点在提升性能、信息融合能力与场景适应化能力。潜望式结构所需算法复杂度提升主要体现在:(1)摄像头数量的增加要求算法处理性能进行进一步提升。多摄方案需要处理摄像头在输入图像和视频数据的时间上做到同步,避免不同摄像头位置引起的视差问题以及来自多个摄像头的多输入影像导致的残影等诸多问题,且需确保合理的算法运行时间,要求平衡性能与时间的关系。(2)“接力式”变焦方案增加了算法融合难度。由于“接力式”方案需要三颗定焦摄像头的配合,光变范围内的无损变焦和混合光变范围内的变焦均依赖算法裁减,同时相较于传统双摄结构中的直立式长焦镜头,潜望式镜头光学倍率更高,增加了其与广角镜头之间的信息融合难度。 (3)算法还需要增强手机在更多应用领域的场景化适应能力。为提升用户整体体验感,算法开发需要更多地融入对场景的理解,包括高倍光学变焦、背光/弱光场景的成像能力,人脸识别精确度的优化等等。
部分手机厂商转向自研算法,料使专业算法提供商短期承压,国内重点关注虹软科技。考虑到客户体验感的增强,以 HOVM 为代表的手机厂商已经开始借助自己的工程师团队研发潜望式结构多摄算法,融入自身对场景的理解;以华为的月亮拍摄模式为例,其在 2019年 2 月申请了一项名为《一种拍摄月亮的方法和电子设备》的专利,融入对夜景和长焦拍摄的理解,并用 AI 技术增强月亮的细节与分辨率。此前,由于算法对处理性能、信息融合等方面的技术积累要求很高,手机厂商一般将拍摄算法的开发委托给专业算法提供商,其中虹软科技在算法领域深耕多年,拥有丰富的智能手机计算摄影、模式识别及 3D 算法产品线,2018 年智能多摄视觉解决方案营收为 1.22 亿元,营收占比 26.9%;公司凭借与产业链上下游主流公司的广泛合作,得以在客户提出技术需求后的最短时间内及时响应;目前已经拥有智能光学超级变焦解决方案,可实现潜望式长焦摄像头无极变焦功能。
5、模组:一致性要求更高
含潜望式结构模组的装配公差对一致性要求更高,技术壁垒进一步增加。含潜望式结构模组封装的难度主要体现在零部件复杂程度提升对保持模组一致性的影响上。由于接力式变焦方案至少需要三摄模组,封装过程中涉及 CIS、镜头、VCM、棱镜模块等零部件的多次组装,在水平、垂直、纵向三个方向产生偏差值,其中潜望式结构新增的棱镜模块又进一步放大了垂直方向的偏差(以棱镜模块的入射光轴为垂直方向,即 v 方向),如图所示 v 方向上棱镜模块偏差率分布的仿真结果明显劣于 u 方向,上述因素造成的装配公差可能导致拍照画面最清晰位置可能偏离画面中心、四角的清晰度不均匀等后果。因此,潜望式结构模组的进入壁垒较高。考虑到技术难度的提升,手机厂会优先选择与一线模组厂合作,其具备更好的 AA 制程性能,能通过采取零部件组装的全局最优策略有效降低模组装配公差,有能力应对一致性方面的挑战;对中低端模组厂而言,二线模组厂在普通三摄模组封装上的良率不足 50%,考虑到潜望式结构造成模组封装难度的进一步提升,较低的良率使其没有能力参与竞争。

▲棱镜模块在 u、v 方向上偏差率分布的仿真结果
高端版搭载潜望式结构模组 ASP 有望达 60-70 美金,低端版料可控制在 25 美金以内,国内重点关注舜宇光学科技、丘钛科技、欧菲光。当前搭载普通潜望式结构模组 ASP 在30-40 美金,毛利率水平在 10-20%左右;华为新发布的 P40 PRO+配备多反射潜望式长焦镜头,采用其独创的 10 倍变焦结构,等效焦距 240mm,是业界唯一实现 10 倍纯光学变焦的手机,高端模组 ASP 有望达 60-70 美金。中国大陆厂商方面,舜宇光学科技为全球摄像头模组一线阵营,具备量产 5 倍光学变焦潜望式模组的能力,是华为 P30 PRO 潜望式模组的主供,并已完成 10 倍光学变焦潜望式模组的研发,正推向市场;立景光电亦是华为 P30 潜望式模组的供应商,具备量产 5 倍光学变焦潜望式模组的能力;欧菲光已在潜望式摄像头等前沿技术方向进行布局,截至 2019H1 已经投入 0.42 亿用于超薄型潜望式摄像头模组的研发;丘钛科技已布局潜望式模组技术,今年有望量产。
此外,韩系厂商中三星电机具备量产潜望式模组的能力,是 OPPO RENO 变焦版和三星 S20 Ultra 的供应商,并能将模组厚度控制在 5mm。我们认为搭载潜望式结构模组的 ASP 因规格而异,低端版含潜望式结构模组一般搭载三摄,其中潜望式长焦模组使用 5P 镜头及较低规格 CIS,因此成本料可控制在 25 美金以内,毛利率将突破单位数达到 10%以上,高端版含潜望式结构模组 ASP 搭载四摄,考虑增加 TOF 模组可达五摄,其中潜望式长焦模组使用较高规格的镜头且可通过增加更多棱镜模块实现更高规格 CIS 的配置,其 ASP 有望达 60-70 美金,模组毛利率有望阶段性达 20%,未来随技术成熟及良率上升,成本有望逐年降低。
6、 更长远看,双潜望式、双棱镜、玻塑混合等升级持续
目前来看,潜望式 1.0 版尚处于渗透初期,渗透率目前约为 1-2%。若更长远看,我们认为潜望式结构在现有方案基础上,仍有持续升级的潜在技术方向:
未来可能如何实现更高光变倍数的突破?可能性在于:双潜望式结构,反射镜。光学变焦倍数的提升主要是受焦长的限制从而导致手机无法突破 6 倍以上的光变。在相机端,2006 年柯达发布的 V610 数码相机注入柯达莱丁娜双镜头技术,采用两只潜望式德国专业施耐德镜头和双 CCD 技术,实现 10 倍光学变焦,是有史以来搭载潜望式结构相机实现的最高光学变焦倍率。具体而言,其机身内搭载有两个施耐德镜头,均采用潜望镜式设计,第一只镜头负责 38-114mm 的焦段,第二只镜头负责 130-380mm 的焦段,组合之后相当于等效 38mm 焦距的 38-380mm 潜望式光学系统,达到 10 倍光学变焦的效果。通过双潜望式结构组合两种焦段进行变焦可以达到更高的光学变焦倍数。此外,还可以利用反射镜延长单个潜望式长焦镜头的焦距,通过反射镜延长光线在潜望式长焦镜头内的折射路径,提升单个潜望式长焦镜头的焦距。

▲柯达 V610 双潜望式结构
未来可能如何继续提升成像质量?可能性在于:双棱镜配置,玻塑混合镜头。
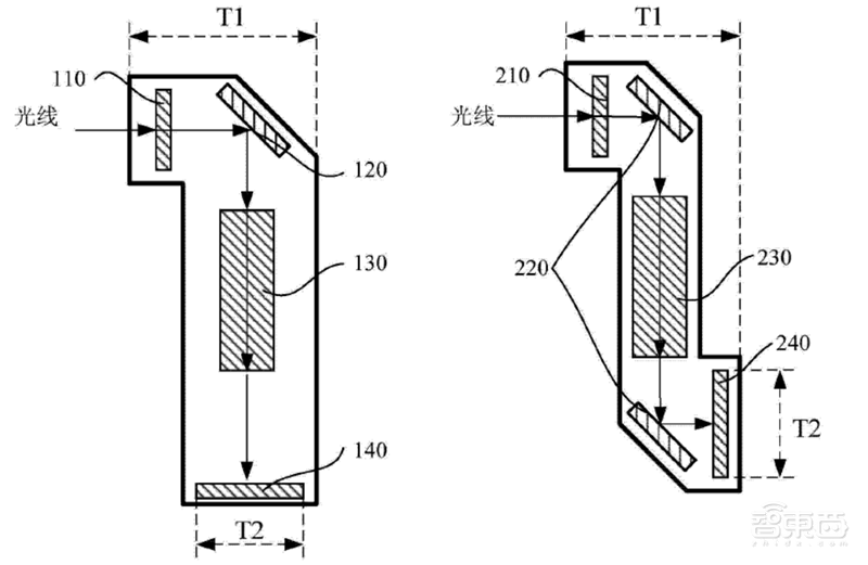
通过配置双棱镜可为更高规格 CIS 留出空间。当前采用的潜望式方案虽然延长了焦距,但由于都是使用单棱镜反射光线,导致 CMOS 像素传感器的长宽受到手机厚度的限制。P30 PRO、RENO 变焦版、X30 PRO 和 S20 Ultra 的潜望式长焦镜头分别为 800万、1300 万、1300 万和 4800 万像素,四者机身厚度依次为 8.41mm、8.8mm、9.3mm和 7.8mm(其中 S20 Ultra 摄像头凸出机身比较明显)。如果延续单棱镜的潜望式结构,手机轻薄化的趋势与潜望式长焦镜头 CIS 规格提升的趋势是互相冲突的。根据华为专利《潜望式镜头和终端设备》:“如右图所示,由于光线经过反射棱镜模组结合变焦镜进行两次反射后射入传感器,使得该传感器的位置相应改变,不需要垂直,因此潜望式镜头的厚度 T1 不受传感器的宽度 T2 的限制。
因此,一方面,当为了提高成像质量而增加潜望式镜头中传感器的宽度 T2 时,可以保证该潜望式镜头的厚度 T1 不变;另一方面,当该传感器的宽度 T2 不变时,可以减小该潜望式镜头的厚度 T1。”配置双棱镜可能成为未来的趋势,因为双棱镜设置可以降低 CIS 的宽度对潜望式镜头厚度的限制,在为了提高成像质量而使用更大尺寸 CIS 时,可以保证手机的轻薄,同时提升了潜望式镜头的成像质量。

▲华为潜望式镜头和终端设备专利示意图
通过玻塑混合镜头可以提升透光性。当前玻塑混合的工艺主要有三种:(1)模造工艺,比较成熟,但产品效率不高,产能贡献有限,供应规模化进程慢;(2)球面玻璃工艺,类似于传统玻璃,主要用在数码相机镜片上,工艺更加成熟,产品的性能、品质等稳定;(3)晶圆级工艺,可分为 WLO 晶圆级和 WLG 晶圆级。镜头未来发展趋势是延续全塑还是走向玻塑混合,光学厂商尚未探索出一条一致的技术路径,其中亚光和 AAC 旗帜鲜明地支持玻塑混合(亚光主打模造工艺,AAC 发展 WLG 工艺),认为玻璃镜片在散热、透光性、厚度、色散、解像力等诸多性能上优于塑料镜片;大立光、舜宇则处于观望状态。虽然光学厂商对未来镜头的发展路径尚未统一,但均在潜望式镜头的玻塑混合趋势上达成共识,认为玻璃镜片 99%以上的透光率方可满足潜望式镜头光学变焦方案的需求。
智东西认为, 潜望式结构解决了手机轻薄化趋势下的光学变倍性能升级问题,目前由安卓端厂商引领,已在高端旗舰机中逐渐渗透。未来,潜望式机型有望从高端下沉至中低端,Sigmaintell 乐观看今年可期突破 1 亿部,2023 年更有望进一步渗透至 4 亿部;若疫情影响持续,则渗透速度可能放缓。在潜望式趋势下,产业链上包括棱镜、镜头、模组等均有望升级 。