智东西(公众号:zhidxcom)
编 | 云鹏
智东西2月14日消息,据外媒报道,苹果近期申请的一项专利显示,其正在开发一套智能家居系统,可以自动对新接入的智能设备进行识别和设置。该系统还可以生成用户的房间平面图、监测用户运动、识别用户身份。
这套系统可以大幅降低用户使用各类智能家居设备、以及构建整套智能家居系统的难度。去年12月,苹果、谷歌、亚马逊曾宣布他们在共同制定开源智能家居的标准,这也让该系统的实现成为可能。
一、AIoT的“大同”世界
苹果近期申请的一项专利显示,他们正在开发一套智能家居系统,可以自动检测到用户新买的智能设备,并自动对这些设备进行配置,让这些设备可以快速融入用户的智能家居系统中。
苹果在专利中提到,目前有很多优秀的智能家居设备和技术可以使用,但是由于无线协议类型不同、连接器类型不同、供应商之间的设备不兼容等问题,这些设备很难实际集成在一起成为一个智能家居系统。
苹果希望打造的这套系统,可以自动识别新的智能设备、检测其所处的房间、对其进行身份验证,然后供用户使用。借此,用户所有智能设备的使用都会变得更加便捷。
理论上讲,当用户在客厅里安装了智能电灯开关,这套系统可以立即在iPhone的Home应用程序中显示这个电灯开关,并自动将其标识为“客厅电灯开关”。
二、将你的整个房间“数字化”
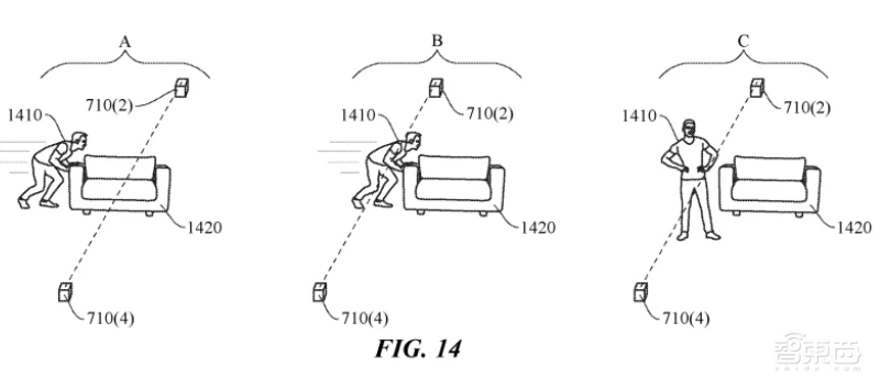
苹果的专利还包括一项技术,借助这项技术,用户可以通过遍布在房间各处的“主机(host unit)”,为自己的房间生成一幅平面图,并且这些主机可以检测到房间中的家具并判断它们的位置,甚至还可以知道用户在房间中的运动足迹。
根据专利显示,这套系统将使用ToF传感器(用于空间感知测量)来获取房间的3D深度数据,并使用超宽带技术(UWB)来实现主机之间的互联。
另外,该系统甚至可以检测出当前房屋中的用户是否是“经过身份验证”的用户,并根据他们已验证的身份信息为他们提供不同的访问等级。这也许是一个解决家中儿童安全问题的好思路。

▲各屋主机的连接示意图

▲主机对家具位置的感知测量
不过目前这套智能家居系统还处在专利阶段,什么时候会在苹果的产品中出现尚未可知。不过这的确是对未来智能居家生活的一次大胆想象。
另外,苹果、谷歌和亚马逊前不久刚刚宣布他们正在共同制定开源智能家居的标准,也许有一天,像苹果这套系统所描述的“自动识别、自动配置”真的会成为现实。
其实苹果并不是第一个考虑这种智能家居系统的公司。一家名为Intellithings的公司先于苹果推出了一套系统,这套系统可以连接用户的智能手机,从而感知用户是否进入房间并启动家中的智能设备,比如根据用户的喜好调节房间的温度。
iRobot的一些Roomba扫地机器人也可以绘制用户的房间地图。iRobot和谷歌去年达成了一项合作,让Google Assistant可以使用这些房间地图数据并为扫地机器人制定工作计划。
结语:打通“壁垒”是AIoT发展的大方向
苹果此次专利中所涉及的智能家居系统,正是我们对未来智能家居生活的一种想象。智能就是要让用户的生活更加便捷高效,并且通过AI来感知用户、理解用户,从而服务用户。
当前,AIoT快速发展,国内外各路科技企业都在打造属于自身的AIoT生态。但纷繁复杂的智能设备,如果不能通过统一的协议、接口相互连接、相互协同,构成一个统一的系统,对用户来说将是一场“灾难”。
文章来源:Theverge